EasyManua.ls Logo

Polaroid Land SX-70

Polaroid Land SX-70
54 pages
To Next Page IconTo Next Page
To Next Page IconTo Next Page
To Previous Page IconTo Previous Page
To Previous Page IconTo Previous Page
Loading...
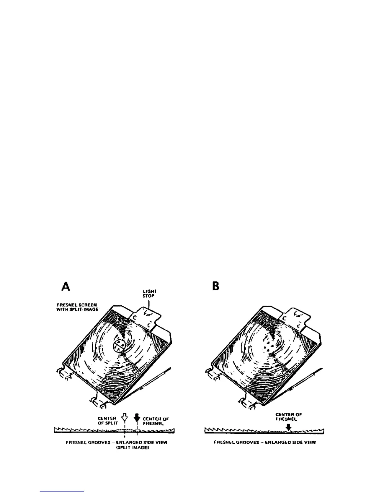
The screen itself is a sheet of plastic upon which
are impressed series of concentric rings much like
the grooves pressed into a phonograph record
(Figure 2-3) instead of having a vee shaping;
however, the grooves in the Fresnel screen form
a saw-tooth with a tooth angle increasing slightly
with each successive groove in such a manner as
to complement the decreasing angle of the light
ray. The saw-tooth attens out completely at the
exact optical center of the screen. In the SX-70
camera, the optical center is not the geometrical
center of the screen.
The surface of the screen is silvered to provide
optimum reectance. The result is a brilliant
viewing image evenly illuminated from corner to
corner.
For the reader who is familar with the use of a
Fresnel lens used in conjunction with a ground-
glass focusing screen, or a Fresnel-ground
focusing magnier, it must be noted that these
are transmission devices while the Polaroid
screen is a reecting medium. Otherwise, the
brilliance enhancing properties are the same.
A suitable analogy would be the comparison of
a lenticular projection screen compared with a
matte surface. The ribbed surface of the lenticular
screen narrows the angle of reectance but
increases the brilliance of the image within teh
viewing aera.
In summary, the Fresnel satises three conditons:
1 - it enhances focusing by distributing light rays
evenly across the entire viewing aera.
2 - it guarantees proper focusing by nature of its
acting as a ground glass - thus insuring that the
subject is in focus when the eye sees the image
in focus on the screen.
3- it acts as a reecting surface to permit the eye
to see the image through the viewnder optics.
As show in Figures 2-3 A and 2-3 B, two types
of fresnel screens are used. Current types
(Figure 2-3 A) have a split-image circle cut into
the center of the screen which makes focusing
easier. Specially oriented prisms within the circle
split the image unless the camera is perfected
focused. Therefore, a straight vertical line in the
image aera would appear to be broken unless
the subject is in focus. To further ease focusing,
the image within the split circle appears brighter
than the rest of the Fresnel image. This is
possible because the split circle is not coated in
the same manner as the rest of the Fresnel. This
latter feature improves the ability of the viewer to
focus the camera in dimly lit aeras.
Figure 2-3 Fresnel screen

Table of Contents

Related product manuals