EasyManua.ls Logo

Porter-Cable PCE210 - Instrucciones de Funcionamiento; Conexión de Accesorios; Mantenimiento

Porter-Cable PCE210
24 pages
Print Icon
To Next Page IconTo Next Page
To Next Page IconTo Next Page
To Previous Page IconTo Previous Page
To Previous Page IconTo Previous Page
Loading...
21
INSTRUCCIONES DE
FUNCIONAMIENTO
ADVERTENCIA: Peligro de
descarga eléctrica. Bajo ninguna
circunstancia debe utilizarse este producto
cerca del agua.
ADVERTENCIA: Riesgo de
laceraciones o quemaduras. No toque la
pieza de trabajo o el accesorio
inmediatamente después de hacer
funcionar la herramienta. Pueden
calentarse mucho. Manipúlelas con
cuidado. Siempre espere a que los
accesorios y la pieza de trabajo se enfríen
antes de manipularlos.
ADVERTENCIA: Para reducir el
riesgo de lesiones, apague la unidad y
desconéctela de la fuente de alimentación
antes de instalar y quitar accesorios, antes
de realizar ajustes o al efectuar
reparaciones. Un arranque accidental
puede provocar lesiones.
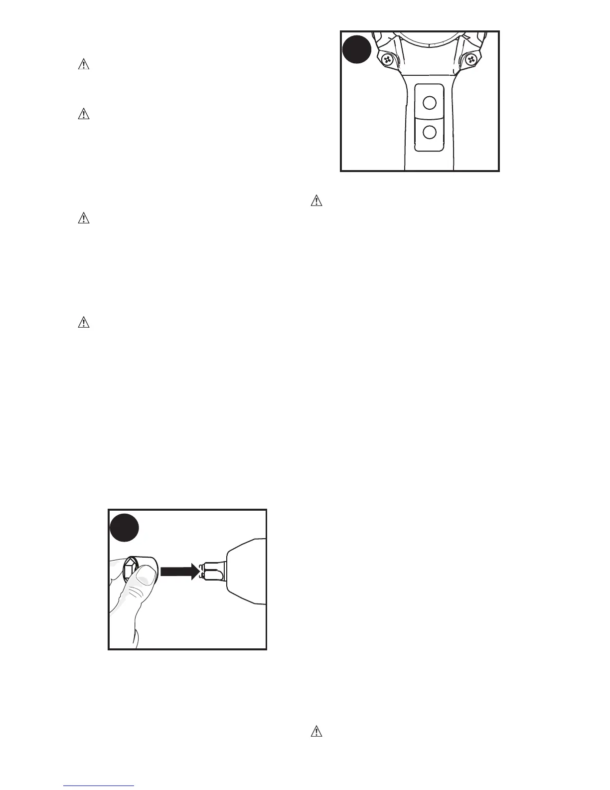
CONEXIÓN DE ACCESORIOS
PRECAUCIÓN: Utilice solo
accesorios de impacto. Los accesorios que
no sean de impacto pueden romperse y
provocar una condición peligrosa.
Inspeccione el accesorio antes de utilizarlo
para asegurarse de que no tenga grietas.
Para instalar un accesorio, empújelo con
firmeza sobre el mandril cuadrado de 12,7 mm
(1/2 pulg.) (2) como se muestra en la Figura
B. El anillo con cordón curvo (3) se comprime
para permitir que el accesorio se deslice
encima. Una vez instalado el accesorio, el
anillo con cordón curvo aplica presión que
ayuda a permitir la retención del accesorio.
Para quitar un accesorio, sujételo y tire
de este con firmeza para sacarlo.
FUNCIONAMIENTO (FIGURA C)
• Oprimalaparteinferiordelinterruptor
de avance/reversa (1) marcado con una
“F” para hacer funcionar la herramienta
hacia adelante (rosca hacia la derecha).
• Oprimalapartesuperiordelinterruptor
de avance/reversa (1) marcado con una
“R” para invertir la dirección del motor.
USO
ADVERTENCIA: Asegúrese de que el
elemento de fijación y/o el sistema soporten el
nivel de torsión generado por la herramienta.
Una torsión excesiva puede provocar roturas
y posibles lesiones personales.
1. Coloque el accesorio en la cabeza
del elemento de fijación. Mantenga la
herramienta apuntando directamente al
elemento de fijación.
2. Oprima el interruptor de avance/reversa
(1) para iniciar el funcionamiento.
Controle siempre la torsión con una llave
de torsión, ya que la torsión de fijación
se ve afectada por muchos factores,
incluidos los siguientes:
• Voltaje: Un bajo voltaje, debido a un
generador o cable prolongador largo,
reducirá la torsión de fijación.
•Tamaño del accesorio: El no utilizar el
tamaño el accesorio del tamaño correcto
provocará una reducción en la torsión
de fijación.
•Tamaño del perno: Los pernos de mayor
diámetro generalmente requieren una
mayor torsión de fijación. La torsión de
fijación también variará de acuerdo con el
largo, el grado y el coeficiente de torsión.
• Perno: Asegúrese de que todas las
roscas estén libres de óxido y otros
residuos para permitir una torsión de
fijación adecuada.
• Material: El tipo de material y el acabado
de la superficie del material afectarán la
torsión de fijación.
• Tiempo de fijación: Un mayor tiempo
de fijación da como resultado un
aumento de la torsión de fijación. El uso
de un tiempo de fijación mayor que el
recomendado puede provocar que los
elementos de fijación se sobrecarguen,
se quiebren o se dañen.
CAPACIDAD
La llave de impacto de 12,7 mm (1/2 pulg.)
utiliza tubos con extremos de accionamiento
cuadrados de 12,7 mm (1/2 pulg.).
MANTENIMIENTO
ADVERTENCIA: Para reducir el
riesgo de lesiones, apague la unidad y
desconéctela de la fuente de alimentación
B
R
F
C

Related product manuals