EasyManua.ls Logo

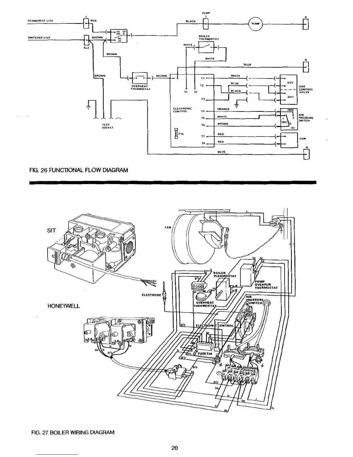
Potterton Prima 80F - Functional Flow Diagram; Boiler Wiring Diagram

Potterton Prima 80F
28 pages
Print Icon
To Next Page IconTo Next Page
To Next Page IconTo Next Page
To Previous Page IconTo Previous Page
To Previous Page IconTo Previous Page
Loading...

Table of Contents

Related product manuals