EasyManua.ls Logo

Powerline PCH-24X - Hardware Illustrations

Default Icon
22 pages
Print Icon
To Next Page IconTo Next Page
To Next Page IconTo Next Page
To Previous Page IconTo Previous Page
To Previous Page IconTo Previous Page
Loading...
PCH-24X
HARDWARE ILLUSTRATION
7
,7,
¨w¿®z®>P°¸>®¨zÅ^

V
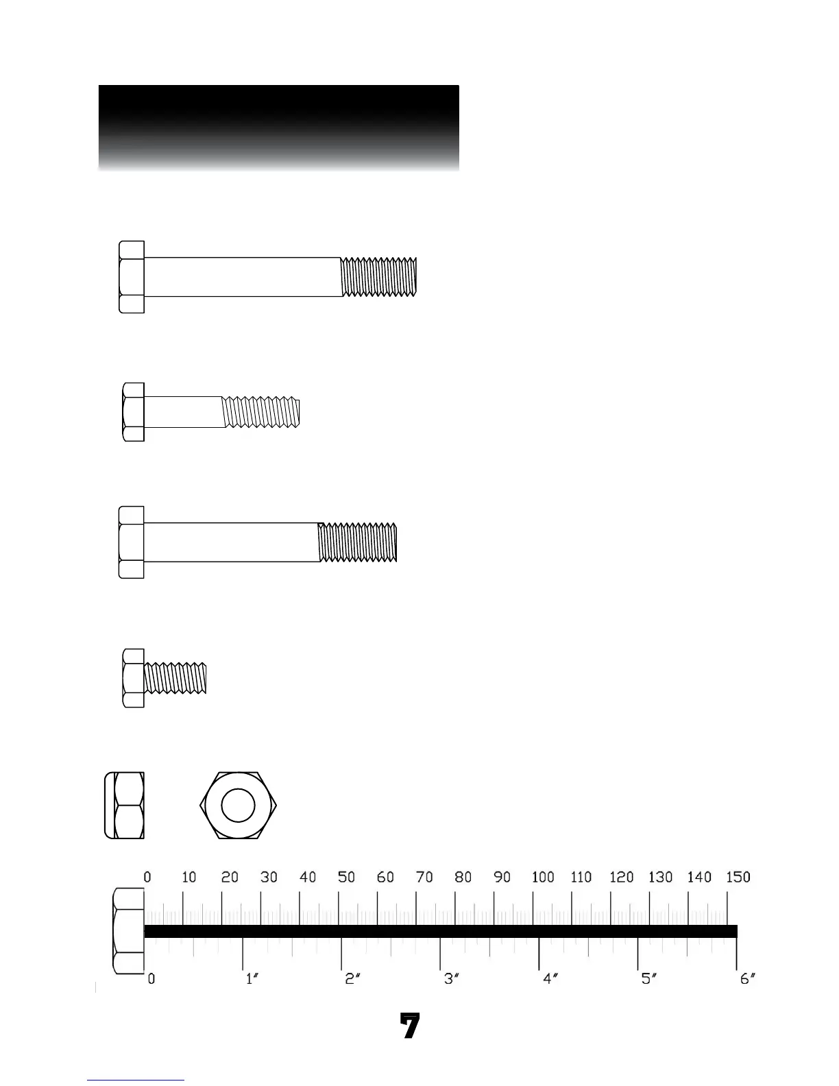
Part #3 M10X65mm hex head bolt Qty. 6
Part #2 5/16”X1.5” hex head bolt Qty. 4
Part #1 M10X70mm hex head bolt Qty. 4
Part #4 M8X15mm hex head bolt Qty. 1
Part #5 M10 nylon lock nut Qty. 10

Related product manuals