EasyManua.ls Logo

Powermatic 511 - Electrical Connections

Powermatic 511
36 pages
Print Icon
To Next Page IconTo Next Page
To Next Page IconTo Next Page
To Previous Page IconTo Previous Page
To Previous Page IconTo Previous Page
Loading...
28
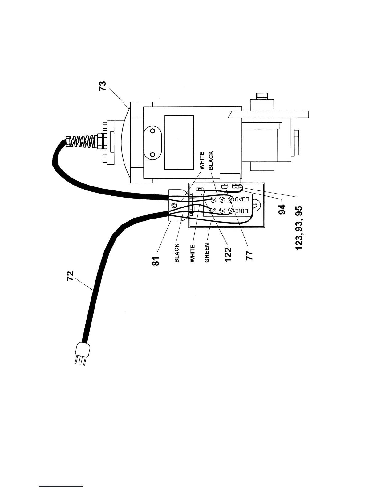
Electrical Connections
refer to parts list, pages 21-23

Related product manuals