EasyManua.ls Logo

PPA Agility Hibrida - Page 54

PPA Agility Hibrida
Print Icon
To Next Page IconTo Next Page
To Next Page IconTo Next Page
To Previous Page IconTo Previous Page
To Previous Page IconTo Previous Page
Loading...
54
Pantalla principal - Monitoreo del sensor
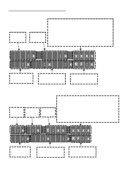
Configuración de la pantalla principal para fin de carrera analógico
INDICADOR DEL
SENSOR FCA
INDICADOR DEL
SENSOR FCC
INDICADOR DE
BOTONERA
INDICADOR DE
FOTOCÉLULA
INDICADOR DE
CONTROL REMOTO VÁLIDO
L:XXX → Contador de tiempo de luz de cortesía
R:XXX → Contador de retardo de apertura con módulo de 'semáforo'
conectado
ST:C → Portón cerrado
ST:A → Portón abierto
ST:E → Portón semiabierto
ST:a → Ciclo de apertura del portón
ST:c → Ciclo de cierre del portón
POR → Tarjeta electrónica activa o reseteada
ST:I → Portón en e󰎣ado de reversión para ciclo de apertura
ST:B → Cerradura electromagnética activada en la apertura
F
B F
F
FC
T A
C
C
A C
Configuración de la pantalla principal para fin de carrera digital / encoder (codifi-
cador)
L:XXX → Contador de tiempo de luz de cortesía
R:XXX → Contador de retardo de apertura con módulo de 'semáforo'
conectado
ST:C → Portón cerrado
ST:A → Portón abierto
ST:E → Portón semiabierto
ST:a → Ciclo de apertura del portón
ST:c → Ciclo de cierre del portón
POR → Tarjeta electrónica activa o reseteada
ST:I → Portón en e󰎣ado de reversión para ciclo de apertura
ST:B → Cerradura electromagnética activada en la apertura
INDICADOR
DEL SENSOR
FCA
INDICADOR
DEL
SENSOR FCC
INDICADOR DE
BOTONERA
INDICADOR DE
FOTOCÉLULA
INDICADOR DE
CONTROL REMOTO VÁLIDO
B F
F
T A
A
C
C
INDICADOR DEL
SENSOR ENCODER

Related product manuals