EasyManua.ls Logo

Pride Mobility Bebop - Specifications

Pride Mobility Bebop
31 pages
Print Icon
To Next Page IconTo Next Page
To Next Page IconTo Next Page
To Previous Page IconTo Previous Page
To Previous Page IconTo Previous Page
Loading...
14
bebop
28.25" - 29.25"
13
"
12
"
1.75"
-
13.5"
16"
17"
20"
37"
32"
Turning Radius
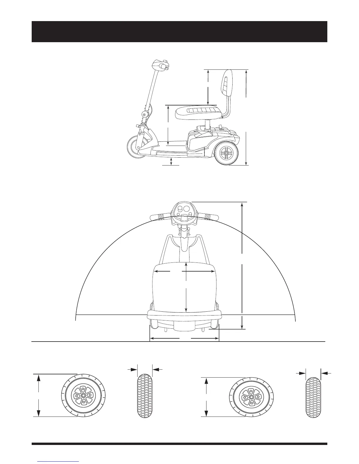
Figure 4. PTV Dimensions
IV. SPECIFICATIONS
2"
7.5"
Figure 4A. Front Tire Dimensions
Figure 4B. Rear Tire Dimensions
7.5"
2.5"

Related product manuals