EasyManua.ls Logo

Proactive alevia - Device Overview and Components

Proactive alevia
10 pages
Print Icon
To Next Page IconTo Next Page
To Next Page IconTo Next Page
To Previous Page IconTo Previous Page
To Previous Page IconTo Previous Page
Loading...
109
Caution:
Always wash and dry the treatment area before applying the
electrodes.
Do not turn the device on when the electrodes are not
applied to the treatment area. Never adjust, reposition or
remove the electrodes while the device is still on.
•Always use this device with 4cm x 4cm self-adhesive square
electrodes, or larger. If they seem to have lost their adhesive
TM
properties, replace with new ProActive electrodes.
Important note: Electrode positioning can be one of the most
important parameters in achieving success with TENS therapy.
Of utmost importance is the willingness of the health care
practitioner to try the various styles of electrode placement to
find which method best fits the needs of each individual patient.
Everyone responds to electrical stimulation differently and,
accordingly, their needs may vary from the conventional settings
suggested here. If the inital results are not positive, feel free to
experiment. Once an effective positioning has been achieved,
mark down the electrodes sites and the settings at the end of this
manual so that it can easily be replicated at home.
5. Turn the device on
Carefully read the contraindications and safety information in this
manual before using for the first time. Turn the intensity control for
either channel 1 or 2 clockwise. The device will beep. Continue as
described below before increasing output intensity.
6. Select the therapy program (mode) and site
Press M until the required mode (EMS or TENS) and body part are
selected. The selected therapy mode will then flash on screen.
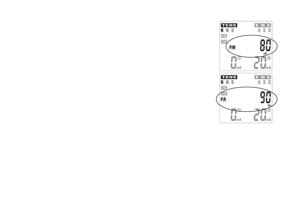
7. Set the pulse width and rate
Press S to enter parameter
setting mode, then use the arrow
buttons to adjust the pulse width
to the value prescribed by your
doctor or therapist. Then, press
S again and use the arrow
buttons to adjust the pulse rate
to the value prescribed by your
doctor or therapist.
8. Set the treatment time
Press S, then use the arrow buttons to adjust the treatment time.
9. Adjust the intensity for each channel and begin treatment
Slowly turn the intensity control dials clockwise until you reach the
prescribed setting. To further increase the intensity, turn the dials
clockwise. To decrease the intensity or turn the device off, rotate
the dials counter-clockwise to the desired setting or to the "OFF"
position. If treatment becomes uncomfortable, decrease the
intensity to your comfort level and contact your doctor or therapist if
the problem persists.

Related product manuals