EasyManua.ls Logo

PROFILO BD4090I2VN - Switching on the Appliance; Setting the Temperature; Fast Cooling Function

PROFILO BD4090I2VN
Print Icon
To Next Page IconTo Next Page
To Next Page IconTo Next Page
To Previous Page IconTo Previous Page
To Previous Page IconTo Previous Page
Loading...
en
32
Switching on the appliance
Plug the mains plug into the mains outlet socket.
The appliance will start cooling.
When the appliance is switched on for the first time, the
alarm function is deactivated until the appliance has
reached the set temperature. If the appliance is
switched off for an extended period, the temperature
alarm may be triggered when it is first switched on
again.
The temperatures flash and the display panels show
the "alarm" symbol until the appliance has reached the
set temperatures.
By pressing the "alarm" button the temperature warning
is switched off.
The lights come on when the appliance doors are
opened.
The following temperatures are recommended by the
manufacturer and pre-set at the factory:
Fridge compartment +4 °C
Freezer compartment -18 °C
Notes on using the appliance
After switching on the appliance, it may be several
hours before the set temperatures are reached.
Do not put any food in the appliance before then.
Thanks to the fully automatic NoFrost system, the
freezer compartment remains free of ice. Defrosting
is not required.
Some of the casing end faces are slightly heated to
prevent condensation forming in the door seal area.
If you cannot open the freezer compartment door
again immediately after closing it, wait a moment for
the low pressure created to equalise.
Setting the temperature
Fridge compartment
The temperature can be set from +2 °C up to +8 °C.
Repeatedly press the "fridge/super" button until the
desired fridge compartment temperature is set.
The temperature last set is saved. The set temperature
is shown on the fridge compartment display panel.
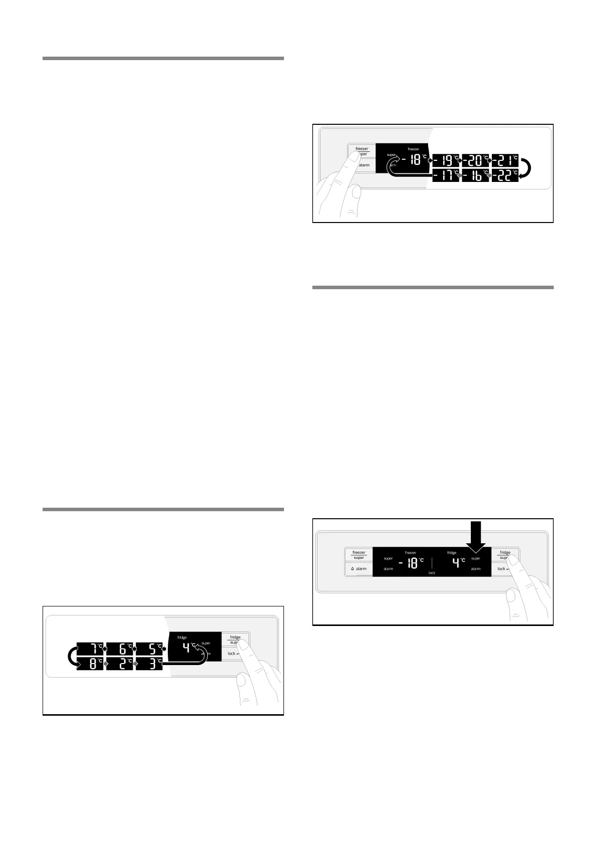
Freezer compartment
The temperature can be set to between -16 °C and
-22 °C.
Repeatedly press the "freezer/super" button until the
desired freezer compartment temperature is set.
The temperature last set is saved. The set temperature
is shown on the freezer compartment display panel.
Fast cooling function
The fast cooling function cools the fridge compartment
to the coldest possible temperature for approximately
40 minutes. After that, the temperature setting
automatically reverts to +4 °C.
Switch on fast cooling, for example
before putting a large amount of food in the fridge
compartment.
to cool drinks quickly.
Note
When fast cooling is switched on, the appliance may
make more noise.
Switching on
Press the "fridge/super" button repeatedly until the
fridge compartment display panel shows "super".
Switching off
Press the "fridge/super" button.
Note
The display panel no longer shows "super". The
temperature setting automatically reverts to +4 °C.

Table of Contents