EasyManua.ls Logo

PYLE Audio DVD - 1 Installation Guide

PYLE Audio DVD
15 pages
Print Icon
To Next Page IconTo Next Page
To Next Page IconTo Next Page
To Previous Page IconTo Previous Page
To Previous Page IconTo Previous Page
Loading...
3
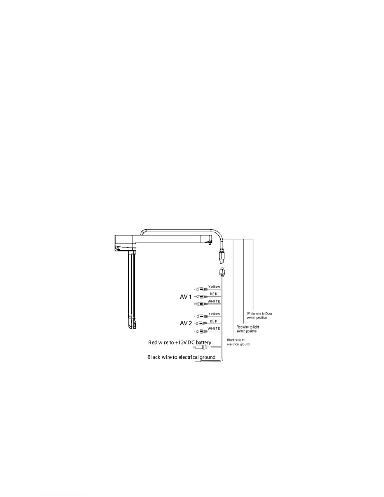
1. INSTALLATION GUIDE
1. On a towel or soft cloth, gently place the monitor unit "facedown" on a stable work
surface.
2. Locate the pigtail with the DIN connector.
3. Connect the DIN connector to the interface cable provided.
4. Connect the RED wire to the positive (+) battery terminal.
5. Connect the Black wire to a chassis electrical ground point.
6. Connect the cable with YELLOW RCA jack to Video Input sources for your Video
Program material.
7. Connect the cable with RED and WHITE RCA jacks to Audio sources for your Audio
Program material.
8. Dome Light Circuit: (NOT SHOWN IN PICTURE) Connect the Black to Ground.
Connect one white lead to the dome light circuit that is positive (+) when the door is
open. Connect the red lead to a constant positive (+).

Related product manuals