EasyManua.ls Logo

Pyramis Ecoline Series - Description of Oven

Pyramis Ecoline Series
202 pages
Print Icon
To Next Page IconTo Next Page
To Next Page IconTo Next Page
To Previous Page IconTo Previous Page
To Previous Page IconTo Previous Page
Loading...
10
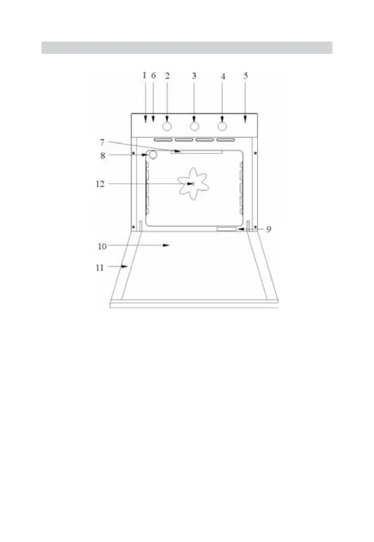
DESCRIPTION OF OVEN
Minute timer ovens
1. Function warning lamp
2. Function select knob
3. Minute timer knob *
4. Temperature adjustment knob
5. Temperature warning lamp
6. The control panel
7. Heaters
8. Oven dome light
9. Rating label
10. The inner glass oven door
11. The oven door
12. Turbo fan*
* Only available on some models.
Note: The position of minute timer knob may be different from shown.

Table of Contents

Related product manuals