EasyManua.ls Logo

Pyramis Ecoline Series - Beschreibung des Backofens

Pyramis Ecoline Series
202 pages
Print Icon
To Next Page IconTo Next Page
To Next Page IconTo Next Page
To Previous Page IconTo Previous Page
To Previous Page IconTo Previous Page
Loading...
10
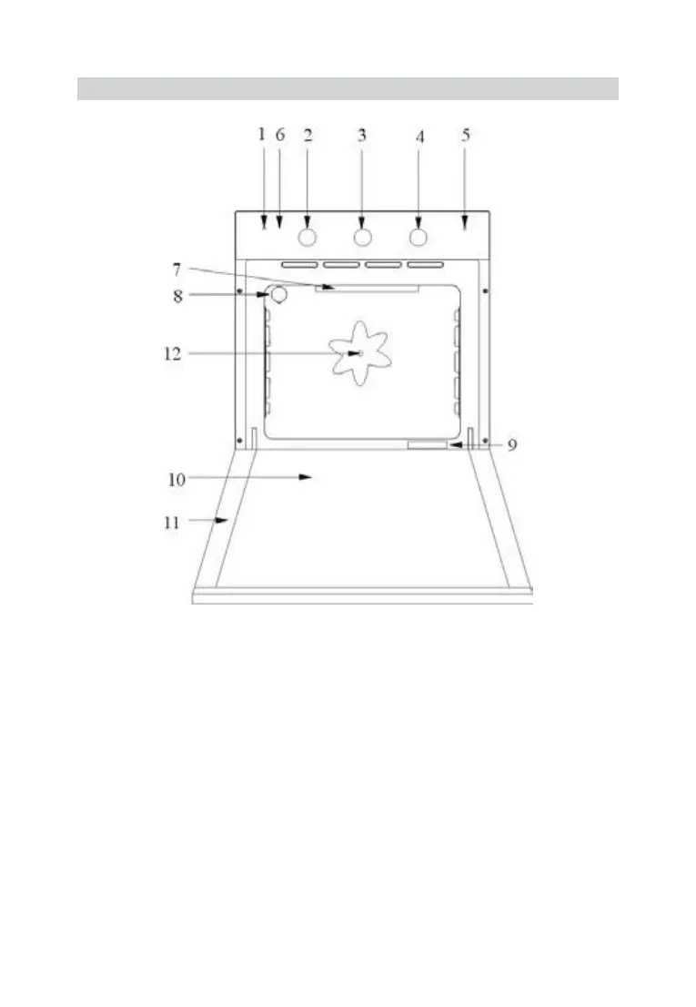
BESCHREIBUNG DES BACKOFENS
Backöfen mit Zeitschaltuhr
1. Funktionsanzeige
2. Funktionswahlschalter
3. Zeitschaltuhr*
4. Temperaturwahlschalter
5. Temperaturkontrollleuchte
6. Bedienpanel
7. Heizelemente
8. Backofenbeleuchtung
9. Typenschild
10. Glastür Innenseite
11. Backofentür
12. Backofenlüfter*
* Nur bei manchen Modellen beinhaltet.
Hinweis: Die Positionierung der Zeitschaltuhr kann von der Skizze abweichen.

Table of Contents

Related product manuals