EasyManua.ls Logo

QSC ISA 280 - Page 7

QSC ISA 280
12 pages
Print Icon
To Next Page IconTo Next Page
To Next Page IconTo Next Page
To Previous Page IconTo Previous Page
To Previous Page IconTo Previous Page
Loading...
7
EN
70V/100V Stereo or Parallel connection: Each 70V/
100V zone connects to its respective channel.
Ensure that all speaker connections maintain
proper polarity.
140V/200V Bridge connection: Wire each bridged
pair to a 140V/200V circuit as shown. Connect a
jumper wire between CH1 [0] and CH2 [0] terminals.
Check for proper polarity.
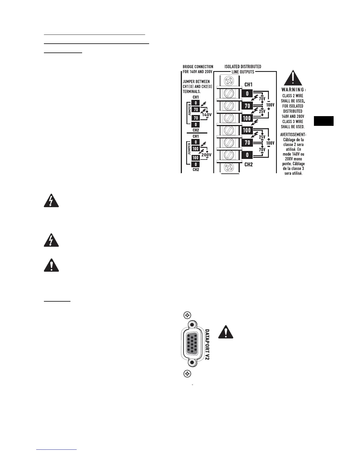
Isolated Distributed Line Outputs:
ISA 300Ti, ISA 500Ti, and ISA 800Ti
Models Only
Wiring connections are shown on the back of the chassis.
STEREO and PARALLEL connections are shown on the right
side of the terminals, and BRIDGE mode is shown on the
left side. Carefully note the polarity marks, which are
arranged to make Bridge Mode connections easier.
Stereo and Parallel Mode- Connect each 70V/100V cir-
cuit to its own channel of the amplifier, as shown on the
label, right of terminals. The mode configuration switches,
page 6, must be set for Stereo or Parallel mode.
Bridge Mode- Bridge mode configures the amplifier to
drive a single 140V/200V audio circuit. See page 6 to set
the Bridge Mode switches. Connect a jumper wire
between CH1 [0] and CH2 [0] terminals.
Connect the load as shown on the label, left of the termi-
nals. Connect only 140V/200V distributed audio circuits in
bridged mode. Use Stereo or Parallel mode channels to
drive 70V loads.
OUTPUT TERMINAL SAFETY WARNING! Do
not touch output terminals while amplifier
power is on. Make all connections with
amplifier turned off. Risk of hazardous
energy!
WARNING! Class 2 wire shall be used. For
isolated distributed 140V and 200V, Class 3
wire shall be used.
ATTENTION! BRIDGE MODE CONNECTIONS:
Connect a jumper wire between CH1 [0] and
CH2 [0] terminals. The isolated output feature
requires this jumper connection for bridge
mode operation.
DataPort
The DataPort V2 connects to optional QSC accessories and
processing devices. DataPort devices provide remote mon-
itoring, DSP processing, filter and crossover functions.
Amplifier Standby is not supported.
If using the DataPort for input signals, do not use the Ter-
minal Block or XLR inputs.
If the amplifier is being used in a system monitored
through a QSC cinema monitor (or other QSC DataPort V2
supporting product) CH1 and CH2 output voltages and AC
power status will be reported by the DataPort.
DataPort V2 connector.
NOTE! If using the DataPort
V2 connection for signal
input, the unused XLR or ter-
minal block connectors may be used
for daisy chaining the input signal to
other amplifiers. However, note the
signal will be 10 dB down from the
signal applied to the DataPort.

Related product manuals