EasyManua.ls Logo

Quincy Compressor QMA 75 - QMA 75 Across the Line Starting Control Schematic

Quincy Compressor QMA 75
69 pages
Print Icon
To Next Page IconTo Next Page
To Next Page IconTo Next Page
To Previous Page IconTo Previous Page
To Previous Page IconTo Previous Page
Loading...
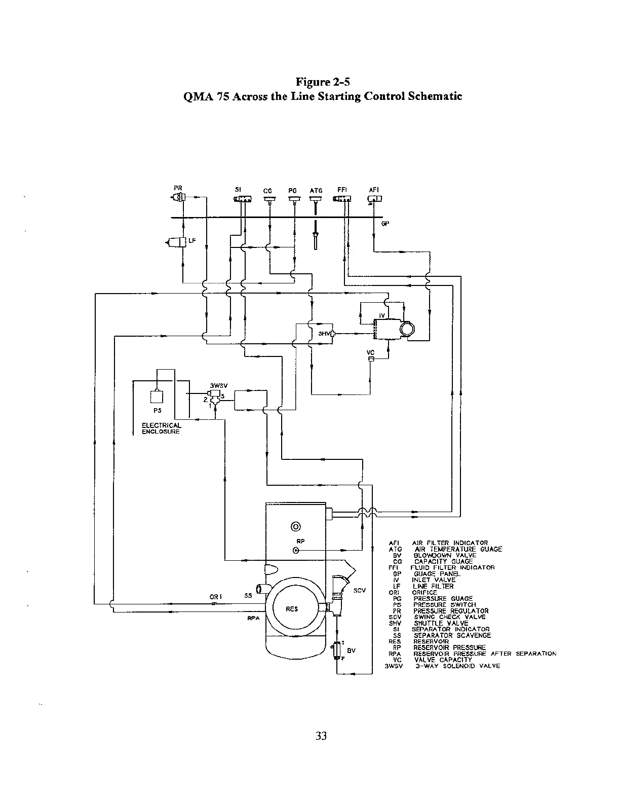
Figure 2-5
QMA 75 Across the Line Starting Control Schematic
?
? ?
II
i
I
r
L
r--1
I
% -p=
3WSV
23
Ps
1
ELECTRICAL
ENCLOSURE
I
/
I
-—r—”
L-r
Vc
m
@
RP
OR t
Ss
RPA
33
SEPARATION
....-—. —..—— ..__
——— .... ...-. -..- . .”... . . -.—. -- —... - . .-m - ---- .- m. ----- .—.-.-. -----— 7.- . -. . ..- -- -,-- ---- -- ,-—--~——
—.

Table of Contents

Related product manuals