EasyManua.ls Logo

Rangemaster 60S - Page 14

Rangemaster 60S
16 pages
Print Icon
To Next Page IconTo Next Page
To Next Page IconTo Next Page
To Previous Page IconTo Previous Page
To Previous Page IconTo Previous Page
Loading...
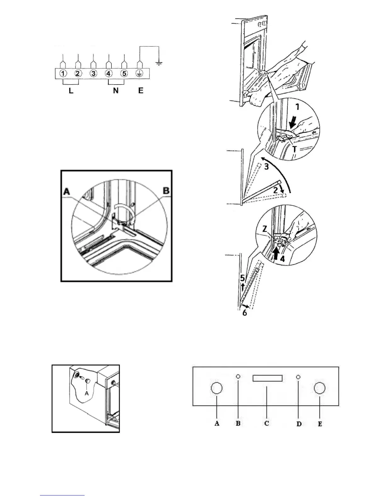
14 9880015700 E OVEN RANGEMASTER 03-2006
Fig. 4B
Fig. 5 Fig. 6
Fig. 7 Fig. 8 (60S)

Related product manuals