EasyManua.ls Logo

Rational SCC WE 202E - Voltage Conversion and Installation Details

Rational SCC WE 202E
44 pages
Print Icon
To Next Page IconTo Next Page
To Next Page IconTo Next Page
To Previous Page IconTo Previous Page
To Previous Page IconTo Previous Page
Loading...
- 15 - V-09 05/2014
Electrical connection
Attention:
Wrong connection can cause damages (e. g. fan
motor)
Voltage Conversion:
208/240V units
All electric units and 62/102/202 gas units are set
to 208 V ex works, but can be converted to 240 V.
To convert from 208V to 240 V proceed as follows:
- Disconnect unit from mains
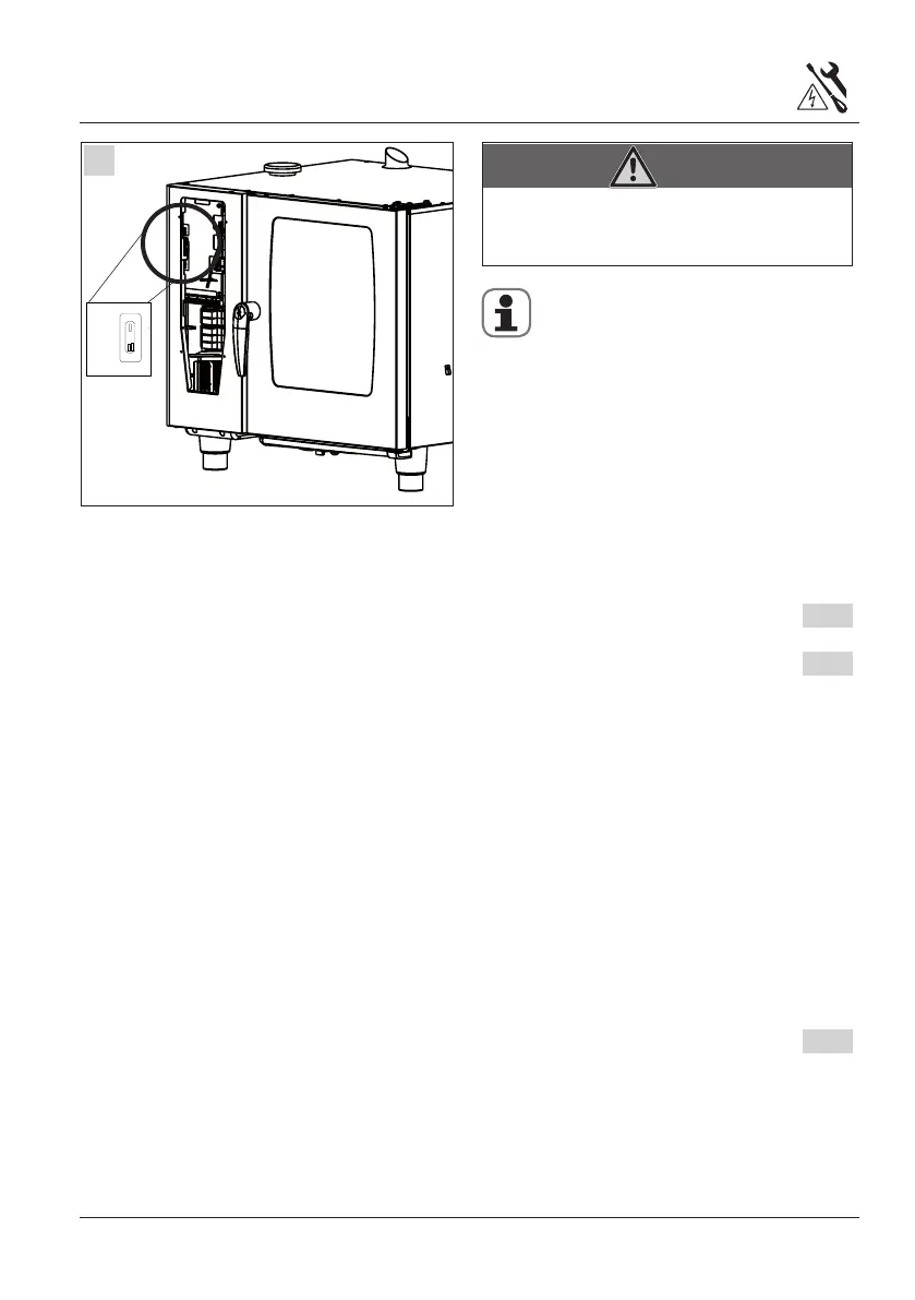
- Remove left side panel and open opera tor panel.
pic1/2
- Set power switch S13 to desired voltage
(208 or 240 V) pic. 5
- On the control transformer change connection to
the desired voltage input (208 or 240 V)
- In the starter kit of the unit there is a sticker which
has to be filled in after voltage conversion. After
filling it in put the sticker next to the type plate
440/480 V units
Units are set to 480 V ex works, but can be con-
verted to 440 V. To convert from 480V to 440 V
proceed as follows:
- Disconnect unit from mains
- Remove left side panel and open operator panel.
-
Remove adapter cable W22 from input transformer
T3 and plug X72.
- Connect plug X72 to transformer T3.
- Set power input switch S 13 to 440 V pic. 5
5
208 V
440 V
480 V
240 V
S 13
WARNING
Wrong connection can cause electric shock
Danger to life
Observe colour coding of the wires

Related product manuals