EasyManua.ls Logo

Raypak B0507 - Page 27

Raypak B0507
57 pages
Print Icon
To Next Page IconTo Next Page
To Next Page IconTo Next Page
To Previous Page IconTo Previous Page
To Previous Page IconTo Previous Page
Loading...
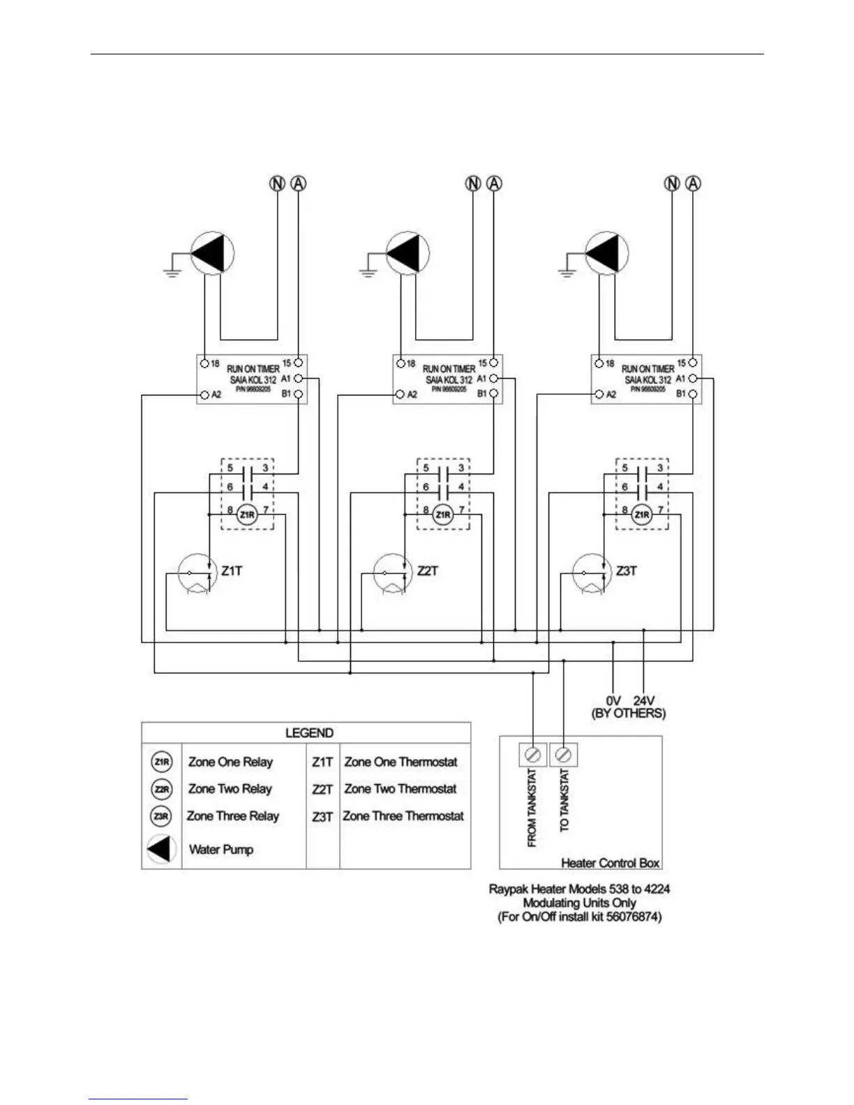
CONNECTIONS ELECTRICAL
27
MULTI PUMP OPTION - MECHANICAL HEATING SYSTEMS
NOTE: When connecting additional controls, any relays, timers or other electrical components must be located in
an additional enclosure and must NOT be fitted within the water heater. For outdoor installations the enclosure
MUST be weatherproof.

Related product manuals