EasyManua.ls Logo

Realistic PRO-2021 - Semiconductor Lead Identification and IC Circuit Diagram; Integrated Circuit Lead Identification

Realistic PRO-2021
46 pages
Print Icon
To Next Page IconTo Next Page
To Next Page IconTo Next Page
To Previous Page IconTo Previous Page
To Previous Page IconTo Previous Page
Loading...
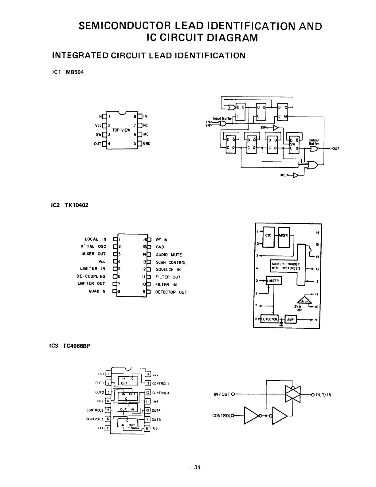
SEMICONDUCTOR
LEAD
IDENTIFICATION
AND
IC
CIRCUIT
DIAGRAM
INTEGRATED
CIRCUIT
LEAD
IDENTIFICATION
ІСІ
МВ504
ІС2
ТК10402
LOCAL
IN
RF
IN
X'
TAL
OSC
GND
MIXER
OUT
AUDIO
MUTE
Vec
SCAN
CONTROL
SQUELCH
TRIGGER
LIMITER
IM
SQUELCH
IN
MTH
MSTERESS
DE-
COUPLING
FILTER
OUT
LIMITER
OUT
FILTER
IN
QUAD
IN
DETECTOR
OUT
ІСЗ
TC4066BP
12)
CONTROLS
IN/
OUT
OUT/IN
CONTROL
-34-

Related product manuals