EasyManua.ls Logo

Realistic PRO-2021 - Block Diagram

Realistic PRO-2021
46 pages
Print Icon
To Next Page IconTo Next Page
To Next Page IconTo Next Page
To Previous Page IconTo Previous Page
To Previous Page IconTo Previous Page
Loading...
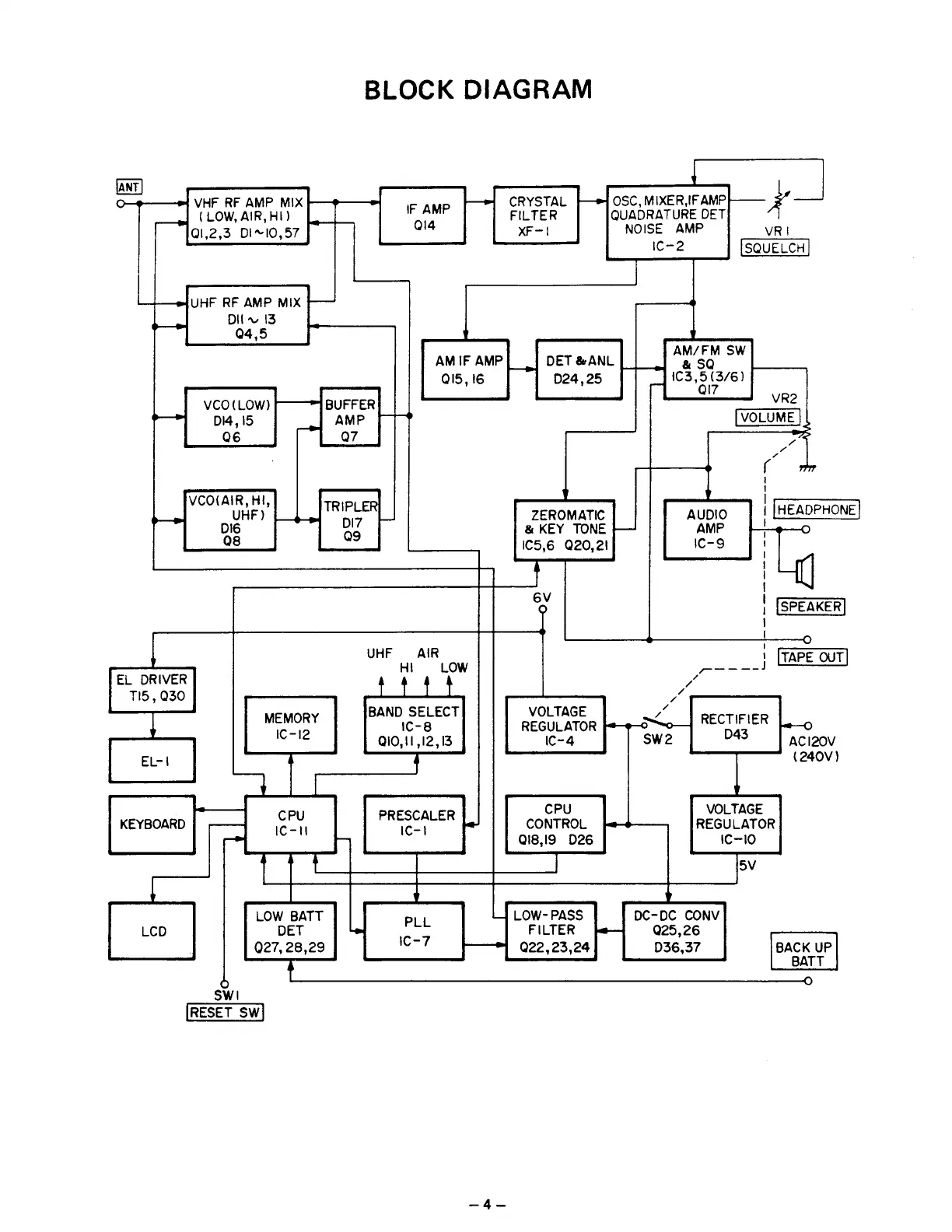
BLOCK
DIAGRAM
CRYSTAL
OSC,MIXER,IF
AMP
VHF
RF
AMP
MIX
4
(LOW,
AIR,
HI)
FILTER
QUADRATURE
DET
01,2,3
DI~10,57
XF-1
NOISE
AMP
VRI
1c-2
SOUELCH
UHF
RF
AMP
MIX
Di
ІЗ
Q4,5
AM/FM
SW
DET
&ANL
H
024,25
ІС3,5
(3/6)
017
VCO
(LOW)
VR2
DI4,
15
VOLUME
f
і
|
ZEROMATIC
AUDIO
|
HEADPHONE
&
KEY
TONE
AMP
|
6
IC5,6
020,2!
ІС-9
!
1
|
LV
|
І
|
[SPEAKER
1
!
О
І
}
TAPE
OUT
EL
DRIVER
s
TIS,
030
v
arse
<<
(ее
ПИ
(240V)
KEYBOARD
LOW
BATT
PLL
|
LOW-PASS
|
DC-DC
CONV
LCD
DET
FILTER
025,26
CPU
CONTROL
018,19
D26
VOLTAGE
REGULATOR
1C-10
027,
28,29
5-7
022,23,24
036,37
BACK
UP
BATT
C)
O
SWI
RESET
SW

Related product manuals