EasyManua.ls Logo

Reebok ACD 4 - Page 36

Reebok ACD 4
38 pages
Print Icon
To Next Page IconTo Next Page
To Next Page IconTo Next Page
To Previous Page IconTo Previous Page
To Previous Page IconTo Previous Page
Loading...
8
41
41
8
K. Niebergall
PRODUCT LIT. GROUP
1
41
41
41
3
34
5
6
14
13
5
34
41
36
41
1
41
22
23
24
41
41
23
22
7
7
21
25
64
29
27
37
38
100
9
9
115
80
93
93
7
7
56
130**
124**
40**
15
17
18
41
20
16
31
81
81
10
111
12
111
12
10
116
110
110
52
51
50
11
77
47
47
97
77
49
122
122
28
50
96
10
35
30
35
35
35
35
35
32
41
32
41
112
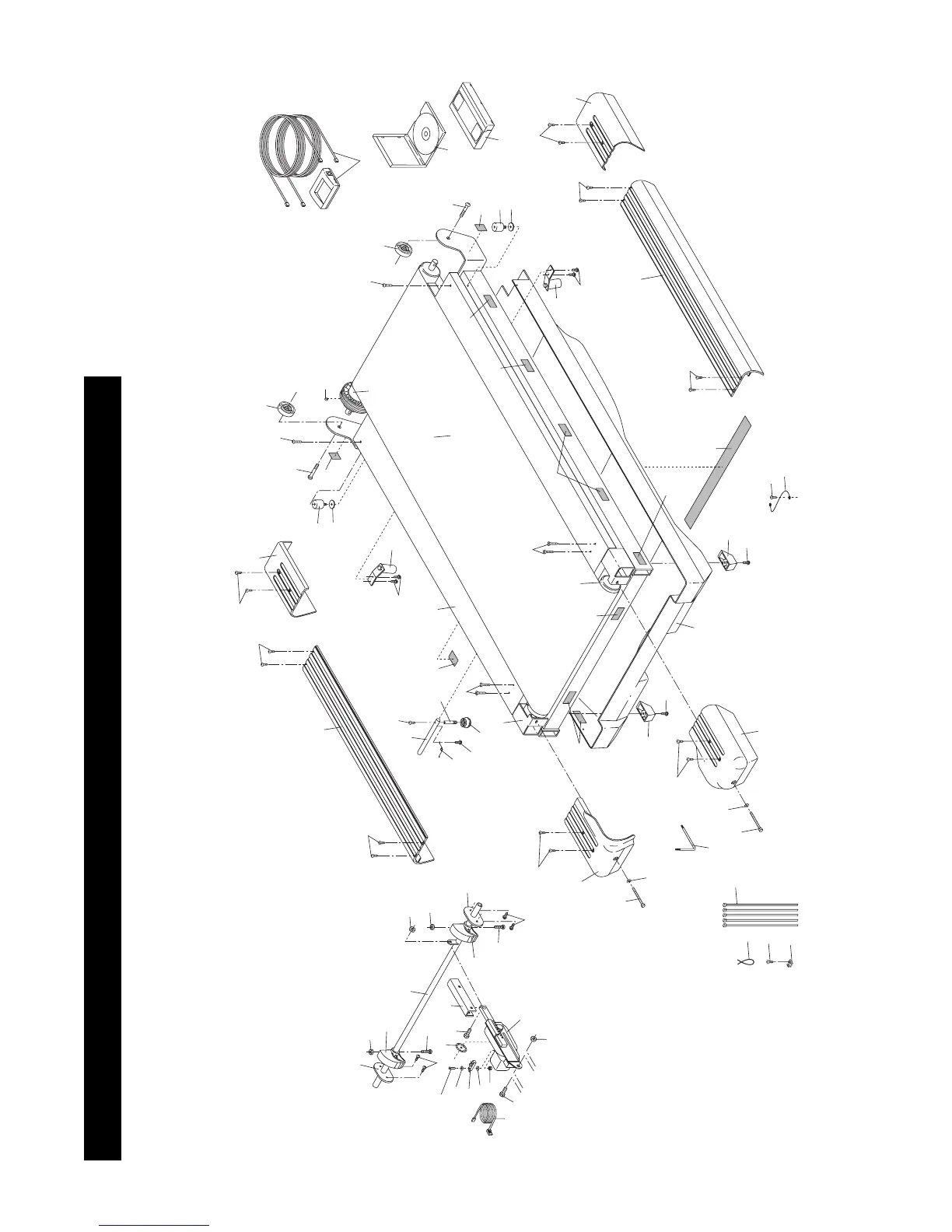
EXPLODED DRAWINGÑMODEL NO. RBTL19991 R0700A

Related product manuals