EasyManua.ls Logo

Refco ENVIRO-DUO - Self-Purge Method

Refco ENVIRO-DUO
136 pages
Print Icon
To Next Page IconTo Next Page
To Next Page IconTo Next Page
To Previous Page IconTo Previous Page
To Previous Page IconTo Previous Page
Loading...
9. Self-Purge Method
English Instruction Manual ENVIRO-DUO
17
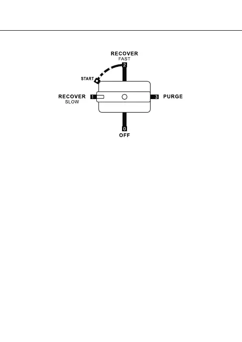
Do not turn off the power when the "complete" light
turns green and unit stops running, please hit the reset
button first, then turn the switch to position "3" to start
purge.
If the ultimate vacuum meets your request but the
unit is still running, please turn the switch to position
"3" to start purge directly.
1.
When the required vacuum is reached, purging ends.
2.
a.
b.
c.
d.
e.
f.
Close the valve on the refrigerant tank.
Close the check valves on the connecting hoses.
Close the liquid valve and gas valve on the manifold
gauge.
Close the connecting valve between the refrigeration
system and the manifold valve.
Turn the power off, and disconnect all the external
hoses.
Cap the intake port and the outlet port.

Table of Contents