EasyManua.ls Logo

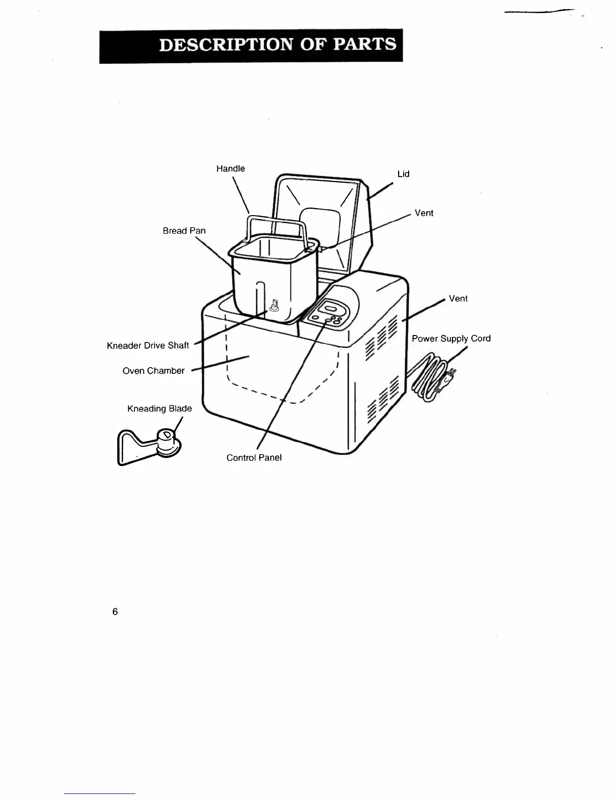
Regal k6774 - DESCRIPTION OF PARTS; Component Identification

Default Icon
40 pages
Print Icon
To Next Page IconTo Next Page
To Next Page IconTo Next Page
To Previous Page IconTo Previous Page
To Previous Page IconTo Previous Page
Loading...

Related product manuals