EasyManua.ls Logo

Regency E21-LP1 - Page 26

Regency E21-LP1
32 pages
Print Icon
To Next Page IconTo Next Page
To Next Page IconTo Next Page
To Previous Page IconTo Previous Page
To Previous Page IconTo Previous Page
Loading...
26
Regency E21 Gas Fireplace Insert
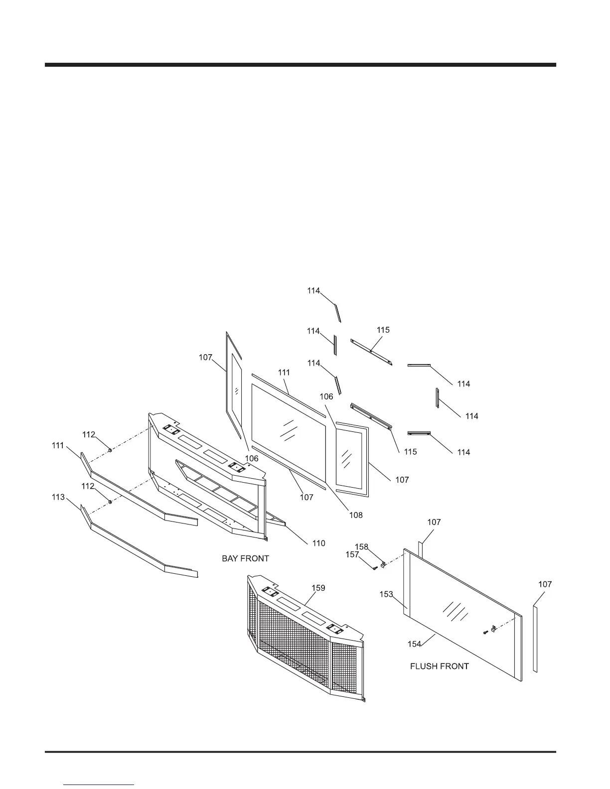
PARTS LIST
BAY & FLUSH FRONT ASSEMBLY
Part # Description Part # Description
Bay Door
530-950 Complete Bay Front c/w Black Trim
106) 940-312/P Side Glass
107) 936-243 Gasket - Adhesive Backed 7/8"
108) 940-313/P Center Glass
110) 902-183 Bay Brick Panel - Standard
402-905 Bay Brick Panel - Standard Brown
402-906 Bay BricK Panel - Standard Red
111) 400-153 Bay Glass Trim Top-Black
112) 904-196 1" Round Ceramic Magnet
113) 400-152 Bay Glass Trim Bottom - Black
402-956 Gold Trim Bay Front
402-958 Steel Trim Bay Front
114) * Glass Retainer - Side - Top & Bottom
115) * Glass Retainer - Center - Top & Bottom
Flush Door
530-547/P Flush Door Assembly Complete
107) 936-243 Gasket - Adhesive Backed 7/8"
153) * Glass Side Trim
154) * Flush Glass
157) * Screw #10-24 x 1/2" Truss Head
158) 402-033 Flush Glass Bracket
159) 532-960 Bay Front Screen
*Not available as a replacement part.

Related product manuals