EasyManua.ls Logo

Reliance HS 7000 - Chair Operation; 3.1. Stop Switch Functionality; 3.2. Chair Lift Control

Reliance HS 7000
48 pages
Print Icon
To Next Page IconTo Next Page
To Next Page IconTo Next Page
To Previous Page IconTo Previous Page
To Previous Page IconTo Previous Page
Loading...
REMARQUE : Les interrupteurs RAISE (LEVER)
et LOWER (BAISSER) la base sur le dossier de la
chaise sont programmables. Selon la conception
initiale, le mouvement de la chaise S’ARRÊTE
lorsque l’un ou l’autre de ces interrupteurs est
relâché. Si vous désirez que le mouvement de la
chaise CONTINUE, après que l’un ou l’autre de ces
interrupteurs est relâché, consultez la section 4
pour connaître les instructions de programmation.
3.2.2. Raising & Lowering the Chair Lift from the
Footswitch
For operation from the footswitch (Figure 3), depress the
right side of the pedal to raise the chair lift.
Depress the left side of the right-hand pedal to lower
the chair lift.
NOTE: The RAISE and LOWER BASE switches on the
Footswitch are programmable. By design, the motion
of the Chair will STOP when either of these switches
is released. If you want the motion of the Chair to
CONTINUE after either of these switches is released,
then see Section 4 for programming instructions.
3. OPERATION
CAUTION: Caution should be taken to ensure
there are no obstructions (instruments, trays,
tables) impeding movement of the Chair.
PRÉCAUTION : On devrait faire attention
pour s’assurer qu’il n’y a pas d’obstructions
(instruments, plateaux, tables) empêchant le
mouvement de la chaise.
Each time main power is applied to the chair, the circuit
board inside the chair will respond with a one second beep.
The beep indicates the electronics is functioning properly.
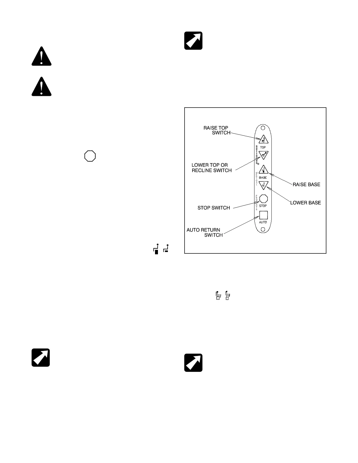
3.1. Stop Switch
3.1.1. Depressing the STOP switch on either side of the chair
back will STOP ALL movement of the chair. The STOP switch
is shaped like a stop sign, and may be either RED or ORANGE
in color. It is located above the text “STOP”. (Refer to Figure
2). The STOP switch is also used to program the chair. See
Section 4 (page 12) for programming instructions.
3.2. Chair Lift
3.2.1. Raising & Lowering the Chair Lift with
Membrane Switches
The chair lift may be raised or lowered by Membrane
Switches on either side of the chair back (Figure 2).
To raise the chair lift from these switches, depress the
triangular-shaped UP arrow located ABOVE the text
”BASE”. This is called the RAISE BASE switch.
To lower the chair lift, depress the triangular-shaped
DOWN arrow located BELOW the text “BASE”. This is
called the LOWER BASE switch.
NOTE: The RAISE and LOWER BASE switches on
the Chair Back are programmable. By design, the
motion of the Chair will STOP when either of these
switches is released. If you want the motion of the
Chair to CONTINUE after either of these switches
is released, then see Section 4 for programming
instructions
.
FIGURE 2
MEMBRANE SWITCH
IN-70008

Table of Contents