EasyManua.ls Logo

Relpol RDT-TPA2 - Page 5

Relpol RDT-TPA2
21 pages
Print Icon
To Next Page IconTo Next Page
To Next Page IconTo Next Page
To Previous Page IconTo Previous Page
To Previous Page IconTo Previous Page
Loading...
5
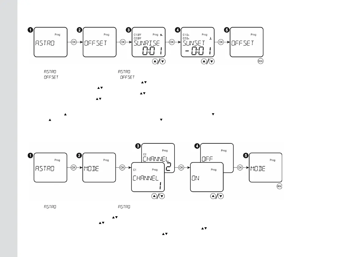
Wybierz i naciśnij przycisk „OK”. / Select and press ”OK” button.
· Wybierz i naciśnij przycisk „OK”. / Select and press ”OK” button.
¸ Wybierz przesunięcie czasu wschodu słońca przyciskami i naciśnij przycisk „OK” (zakres przesunięcia: ±2 h).
/ Select the oset time of sunrise with
buttons and press ”OK” button (oset range: ±2 h).
¹ Wybierz przesunięcie czasu zachodu słońca przyciskami i naciśnij przycisk „OK” (zakres przesunięcia: ±2 h).
/ Select the oset time of sunset with
buttons and press ”OK” button (oset range: ±2 h).
º Wyjdź z ustawień, naciskając przycisk „MENU”. / Exit from the setting by pressing ”MENU” button.
Przytrzymaj przycisk
przez 0,5 s, aby szybko zwiększyć wartość liczbową. Przytrzymaj przycisk przez 0,5 s, aby szybko zmniejszyć wartość liczbową.
/ Long press
0,5 s, increase the numerical value quickly. Long press 0,5 s, decrease the numericalvalue quickly.
4.3. Ustawianie przesunięcia czasu / Oset time setting
Wybierz i naciśnij przycisk „OK”. / Select and press ”OK” button.
· Wybierz „MODE” i naciśnij przycisk „OK”. / Select ”MODE” and press ”OK” button.
¸ Wybierz kanał C1 lub kanał C2 przyciskami i naciśnij przycisk „OK” (zakres przesunięcia: ±2 h).
/ Select channel C1 or channel C2 with
buttons and press ”OK” button (oset range: ±2 h).
¹ Wybierz „ON” lub „OFF”, aby aktywować lub deaktywować tryb astronomiczny przyciskami i naciśnij przycisk „OK”.
/ Select ”ON” or ”OFF” to activate or desactivate astronomical mode with
buttons and press ”OK” button.
º Wyjdź z ustawień, naciskając przycisk „MENU”. / Exit from the setting by pressing ”MENU” button.
4.4. Ustawianie astronomicznego trybu pracy / Astronomical operation mode setting