EasyManua.ls Logo

Risco LuNAR - Page 2

Risco LuNAR
5 pages
Print Icon
To Next Page IconTo Next Page
To Next Page IconTo Next Page
To Previous Page IconTo Previous Page
To Previous Page IconTo Previous Page
Loading...
Prueba de Movimiento
1. Dos minutos después de la puesta en marcha (periodo de
calentamiento), haga la prueba de movimiento al detector en toda el
área protegida para veri¿car el correcto funcionamiento de la unidad
(véase Figura 5).
2. El rango de MW puede ajustarse mediante el potenciómetro situado
en el PCB (placa de circuito impreso). Es importante ajustar el
potenciómetro a la con¿guración más baja posible que aún pueda
proporcionar su¿ciente cobertura al límite interno del área protegida.
IMPORTANTE: La tapa del detector DEBE estar bien ajustada antes
de aplicar alimentación.
Visualización de los LEDs
LED Estado Descripción
Amarillo Encendido Detección PIR
Parpadeando Problema en el canal PIR
Verde Encendido Detección MW
Parpadeando Problema en el canal MW
Rojo Encendido ALARMA
Parpadeando Fallo / Detección Anti-
Enmascaramiento
Notas: La detección Anti-
Enmascaramiento sólo funciona
en modo “Desarmado” (Unset).
(Véase la sección Cableado del
Terminal, terminal SET).
Todos los LEDs Parpadeando
(sucesivamente)
Al poner en marcha, los LEDs
parpadearán consecutivamente
hasta el ¿nal del periodo de
calentamiento (2-3 minutos). Al
¿nal del periodo de calentamiento,
el LED ROJO continuará
parpadeando hasta el ¿nal de la
iniciación del AM.
Notas: Las indicaciones de AM y Problema continúan hasta que se
elimina el enmascaramiento o se soluciona el problema.
Especi¿caciones Técnicas
Eléctricas
Consumo de corriente 16mA a 12VCC (Típico)
41mA a 12VCC (Máx.)
Requisitos de voltaje 9 -16VCC
Contactos de Alarma 24VCC, 0.1A
Contactos de Tamper 24VCC, 0.1A
Contactos FALLO/AM 24VCC, 0.1A
Ambientales
Inmunidad a RF
Según EN50130-4
Temperatura de funcionamiento -20ºC a 55ºC (-4F a 131F)
Temperatura de almacenamiento -20ºC a 60ºC (-4F a 140F)
Óptica
Filtrado Protección contra luz blanca
Físicas
Tamaño Ø 135 x 27 mm (Ø 5.3 x 1 in)
Peso
200 gr. (7 oz.)
ITALIANO
I rivelatori LuNAR RK150DTG3 a doppia tecnologia da sof¿tto integrano
le tecnologie più avanzate per le installazioni professionali. Questi
rivelatori includono sia la tecnologia Anti-Mask che quella Anti-Cloak™
(ACT™).
I rivelatori LuNAR RK150DTG3 permettono di effettuare una copertura a
360° con un diametro di 13 metri ad un’altezza di installazione di 4 metri.
Inoltre questi rivelatori hanno le resistenze di ¿ne linea integrate nel
circuito per sempli¿carne al massimo l’installazione.
Installazione / Manutenzione
SW1-4: Self
Test
Usato per testare le tecnologie di rilevazione.
LO (Auto-test locale): Se non viene
rilevata alcuna attivazione del canale PIR per 1 ora,
il rivelatore eseguirà un auto-test. Se il test fallisce,
l’uscita a relé FAULT/AM verrà attivata.
RE (Auto-test remoto): L’Auto-test
remoto si attiva quando il morsetto SET viene portato
dalla condizione di Impianto INSERITO (Comando di
attivazione applicato) alla condizione di impianto
DISINSERITO (nessuna tensione applicata). A
conferma che l’auto-test remoto è stato superato
l’uscita a relé di allarme si attiverà per 5 secondi.
Nel caso in cui l’auto-test sia fallito si attiverà l’uscita
a relé FAULT/AM.
SW1-3: Green Line
I rivelatori RK150DTG3 include la funzione ‘Green Line’ che evita
emissioni radio superÀue nell’ambiente. Questa funzione disabilita il
canale a microonda (MW) quando il sistema di sicurezza è disinserito.
ON
La funzione Green Line è abilitata: Per disabilitare la
sezione microonda (MW) a sistema DISINSERITO
va applicato un comando di attivazione al morsetto
LED (0V o 12V in funzione della polarità con¿gurata
tramite il ponticello LED/SET INPUT). Anche i LED
verranno in questo caso disabilitati. La sezione
microonda viene disabilitata in questo modo solo se
al morsetto SET non viene applicata alcuna tensione.
NOTA: Quando la funzione Green Line è attiva
(Microonda spenta), il rivelatore si attiva usando la
sola sezione ad infrarossi (PIR).
OFF
ON
OFF
La funzione Green Line è disabilitata. La sezione a
microonda (MW) è sempre accesa.
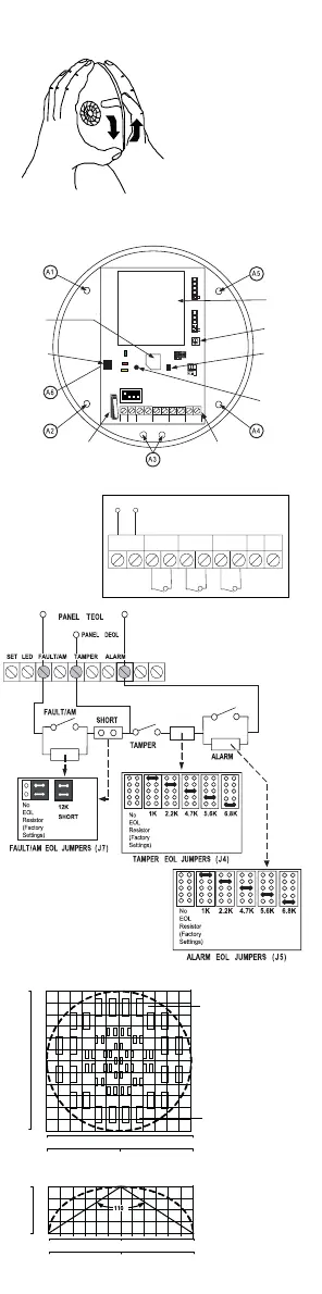
Ponticelli Per
resistenze EOL
I ponticelli J1 e J2 permettono la selezione dei
valori resistivi da assegnare ai circuiti di Tamper
e di Allarme (1K, 2.2K, 4.7K, 5.6K, 6.8K) in
funzione della centrale d’allarme utilizzata (vedere
la Figura 4 in basso). Il ponticello J3 inoltre,
permette la selezione di una resistenza di 12K
per supervisionare il circuito Anomalia/Anti-Mask.
Seguire lo schema di collegamento dei morsetti
illustrato in Figura 4 quando si vuole collegare il
sensore ad una centrale d’allarme usando il
doppio o il triplo bilanciamento resistivo
(DEOL/TEOL).
Prova di movimento (Walk Test)
IMPORTANTE: Il coperchio del rivelatore deve essere montato e
correttamente bloccato prima di alimentare il sensore.
1. Due o tre minuti dopo aver alimentato il rivelatore (preriscaldamento)
effettuare la prova di copertura dell’area da proteggere veri¿cando
la risposta del rivelatore tramite l’accensione dei LED (vedere
Figura 5).
2. La portata della microonda va regolata tramite l’apposito
potenziometro situato sulla scheda elettronica. Regolare il
potenziometro della microonda al minimo possibile riferito all’area
da proteggere.
LED Stato Descrizione
LED Stato Descrizione
Giallo Illuminato
Rilevazione del canale PIR
Lampeggiante Anomalia del canale PIR
Verde
Illuminato Rilevazione del canale MW
Lampeggiante Anomalia del canale MW
1. Rimuovere il coperchio anteriore del LuNAR utilizzando la seguente
procedura:
Mantenere con una mano la base del rivelatore e con l’altra mano
ruotare in senso orario il coperchio ¿nchè non si blocca
(vedi Figura 1).
Nota: se viene utilizzato il tamper antirimozione è necessario aprire la
predisposizione a sfondare sulla base del contenitore
3. Predisporre i ponticelli (Vedere la sezione relativa).
Nota:
Ad ogni modi¿ca delle predisposizioni/regolazioni, effettuare
sempre un reset del rivelatore rimuovendo e applicando tensione.
Rosso Illuminato ALLARME
Lampeggiante
Anomalia / Rilevazione circuito
Anti-Mask
Nota: La rilevazione del canale
Anti-Mask può essere attiva solo
ad impianto “Disinserito” (Consultare
la sezione del Cablaggio morsettiera,
morsetto SET).
Tutti i LED Lampeggiante
(consecutiva-
mente)
All’alimentazione tutti i LED
lampeggiano in sequenza ¿no alla
¿ne del periodo di preriscaldamento
(2-3 minuti).
Alla ¿ne del periodo di preriscaldamento
il LED ROSSO continuerà a
lampeggiare ¿no alla ¿ne della fase
di inizializzazione del canale Anti-
Mask.
Nota: L’indicazione di Mascheramento e/o Anomalia persiste ¿no a
quando la causa non viene rimossa.
Speci¿che Tecniche
Elettriche
Assorbimento di corrente 12mA a 12V-, 39mA a 12V-
(max. con tutti i LED accesi)
Tipo di segnale amesso MW Segnale pulsato
Potenza max irradiata MW 13.5 dBm erp
Requisiti di alimentazione Da 9V- a 16V-
Contatti di allarme
Contatti di Tamper
Contatti FAULT/AM 24V-, 0.1A
24V-, 0.1A
24V-, 0.1A
Ambientali
Immunità RF Conforme alla EN50130-4
Temp. di funzionamento Da -20ºC a 55ºC
Temp. di funzionamento certi¿cate Da -5ºC a 40ºC
Temp. stoccaggio Da -20ºC a 60ºC
Ottica
Lenti Fresnel sferiche a grandangolo
Copertura Angolo di 110º
Zone di rilevazione 12 zone lunghe, 12 zone
intermedie e 6 zone inferiori su
3 ottiche
Fisiche
Dimensioni Ø 135 x 27 mm (Ø 5.3 x 1 in)
Peso 200 gr. (7 oz.)
4. Rimontare il coperchio frontale e stringere la vite di blocco coperchio.
5. Effettuare una prova di copertura (Sezione Prova di movimento).
Cablaggio Morsettiera (vedi Figura 3)
Morsetto Descrizione
- 12V + Ingresso di alimentazione 12V
ALARM Relé N.C.
TAMPER Interruttore N.C.
FAULT/AM Relé N.C.: Il relé FAULT/AM si attiva per gli eventi seguenti:
• L’auto-test del sensore è fallito
• L’ingresso di alimentazione è minore di 8V
Morsetto Descrizione
LED
Controllo remoto dei LED e funzione GREEN LINE (con
ponticello GREEN LINE inserito)
Quando viene applicato un ”Segnale di Attivazione”** al
morsetto LED, tutti i LED vengono disabilitati e, se il
ponticello GREEN LINE è INSERITO, la sezione
microonda viene disabilitata.
Nota: af¿nché la microonda venga disabilitata non ci
deve essere alcun comando sul morsetto SET.
I LED sono abilitati se al morsetto LED non è collegato
niente (a meno che il ponticello LED sia estratto).
SET
Controllo remoto dello stato impianto
Stato Inserito: Quando viene applicato un ”Segnale di
Attivazione”** a questo morsetto, il circuito di Anti-Mask
viene disabilitato (conforme alla normative Grado 2).
Stato DisON: Se all’ingresso non viene collegato
niente il circuito Anti-Mask è abilitato (vedere anche la
tabella di predisposizione ponticelli riferita alla funzione
“Green Line” e “Auto-test remoto”.
.
**Per Segnale di attivazione si intende quanto segue-
- Viene applicata una tensione 12 Vcc e il ponticello LED/SET Input è
nella posizione 12v
- Viene applicato un riferimento di alimentazione 0V e il ponticello
LED/SET Input è nella posizione 0V
Predisposizione microinterruttori
Microint. Funzione
SW1-2: ACT
Usato per abilitare o disabilitare la funzione ACT
ON
ACT abilitato
Importante: Non usare la funzione ACT™ se nel
luogo di installazione del rivelatore si prevede
movimento di oggetti al di fuori dell’area protetta
come, ad esempio, il movimento di persone in un
corridoio attiguo.
OFF
ACT disabilitato.
J4- LED/SET
INPUT
Usato per impostare la polarità dei comandi di
attivazione per gli ingressi LED e SET.
(Default)
(Default)
(Default)
(Default)
Posizionato sul lato 12V richiede come comando di
attivazione una tensione positiva. Fare riferimento
alla sezione relativa il Cablaggio Morsettiera,
morsetti LED e SET.
Posizionato su 0V richiede come comando di
attivazione un riferimento negativo di alimentazione
0V. Fare riferimento alla sezione relativa il
Cablaggio Morsettiera, morsetti LED e SET.
SW1-1: LED
Usato per abilitare o disabilitare il funzionamento
dei LED.
ON
I LED sono abilitati ed è possibile anche controllarli
via comando remoto tramite l’ingresso LED.
OFF
I LED sono disabilitati. Non è possibile alcun
controllo remoto.
PORTUGUÊS
Os detectores LuNAR RK150DTG3 são os detectores de instalação de
teto de última geração, para instalações pro¿ssionais, incorporando
tanto a tecnologia de Anti-mascaramento quando a de Anti-camuÀagem
(ACT™), e aderindo as novas diretrizes ambientais.
Os detectores LuNAR DT Grau 3 possuem resistores de ¿nal de linha
(EOL) integrados para simpli¿car a instalação.
Características do detector 110° grande ângulo lentes Fresnel,
abrangendo 360º campo de visão da detecção padrão.
Instalação / Manutenção
SW1-4: Auto
Teste
Usado para testar as tecnologias de detecção.
LO (Auto Teste Local): Se não há detecção de alarme
no canal Infravermelho Passivo durante o período de
1 (uma) hora, o detector fará um auto teste. Se o auto
teste local falhar, o Relé FALHA/AM será ativado.
RE (Auto Teste Remoto): O Auto Teste Remoto é
ativado quando o terminal SET é passado do modo
SET a UNSET. No caso de o auto teste ter sido bem
sucedido, o Relé Alarme será ativado por 5 segundos.
Em caso de falha do auto teste remoto, o Relé
FALHA/AM será ativado.
SW1-3: Green Line
O LuNAR 150DTG3 inclui uma característica ‘Green Line’ que segue
as diretrizes de proteção ao meio ambiente, evitando a emissão de
energia em excesso.Esta característica desativa o canal de Microondas
quando o sistema de alarme está “Desarmado”, eliminando assim a
emissão de excedentes de Microondas enquanto o local estiver
ocupado.
ON
A característica Green Line está habilitada: Para
desativar o módulo de Microondas quando os LED’s
forem desativados remotamente.
NOTA: Quando ‘Green Line’ é ativado (Microondas
Desligado), o detector ainda estará funcionando
(apenas Infravermelhor Passivo).
OFF
ON
OFF
A característica Green Line está desativada: o
Microondas está constantemente em uso
Jumpers TRIPLOS
EOL
Os jumpers J1 e J2 permitem a seleção da
resistência do Tamper e do Alarme (1K, 2.2K, 4.7K,
5.6K, 6.8K) de acordo com o painel de controle
(ver Figura 4 abaixo). O jumper J3 permite a
seleção de 12K para Falha/Anti-CamuÀagem.
Siga o diagrama de conexão do bloco de terminais
na Figura 4, ao conectar o detector a uma Zona
de Duplo/Triplo Fim-de-Linha (DEOL/TEOL)
Prova de Movimento
IMPORTANTE: Assegure-se que a tampa do detector está
corretamente fechada antes de aplicar energia.
1. Dois minutos depois de ativar (período de aquecimento), caminhe
para testar o Detector através de toda a área protegida para veri¿car
a correta operação da unidade (ver Figura 5).
2. O alcance de Microondas deve ser ajustado usando-se o
potenciômetro, que está localizado no PCB. É importante colocar o
potenciômetro na con¿guração mais baixa possível que ainda possa
proporcionar su¿ciente cobertura para toda a área protegida.
Verde
Aceso Detecção no Microondas
Piscando
Problema no canal de
Microondas
Vermelho
Aceso ALARME
Piscando Falha / Detecção Anti-Máscara
Notas: A detecção Anti-Máscara
é ativada somente no modo
“Unset”. (ver a seção Terminais
de Fiação, terminal SET).
Todos os LEDs
Piscando
(sucessivamente)
Ao conectar, os LEDs piscarão
consecutivamente até o ¿nal do
período de aquecimento (2-3
minutos). Ao ¿nal do período de
aquecimento, o LED VERMELHO
continuará piscando até o ¿nal
da iniciação do AM.
Notas: As indicações de AM e Problema continuam até que o
mascaramento seja removido ou o problema solucionado.
1. Retire a tampa frontal lunar utilizando o seguinte procedimento:
Segure a base do detector com uma mão e rodar a tampa
com a outra mão no sentido horário até que ela pára (ver Figura 1).
Nota: Se for utilizada uma volta adulterar é obrigatória para abrir as
adulterações de volta knockout.
3. Con
¿gure os jumpers (ver a seção Con¿
guração de Jumpers).
Nota: Reajuste o detector depois de cada modi¿cação feita nas
con¿gurações.
4. Recoloque a tampa dianteira em seu lugar (na seqüência contrária
à da remoção).
5. Realize uma prova de Caminhada (ver a seção Prova de Caminhada).
Especi¿cações Técnicas
Elétricas
Consumo de Corrente
16mA a 12VDC (Típico)
41mA a 12VDC (Máx.)
Requisitos de voltagem 9 -16VDC
Contatos de alarme 24VDC, 0.1A
Contatos de Tamper 24VDC, 0.1A
Contatos FALHA/AM 24VDC, 0.1A
Ambientais
Imunidade a RF De acordo com EN50130-4
Temperatura de operação
-20ºC a 55ºC (-4F a 131F)
Temperatura de armazenamento
-20ºC a 60ºC (-4F a 140F)
Ótica
Filtragem Proteção contra luz branca
Físicas
Tamanho
Ø 135 x 27 mm (Ø 5.3 x 1 in)
Peso 200 gr. (7 oz.)
Terminais de Fiação (ver Figura 3)
Terminal Descrição
- 12V + Entrada de 12VDC
ALARME Relé N.F.
TAMPER Chave do tamper N.F.
FALHA/AM Relé Normalmente Fechado: O relé FALHA/AM se abre
nos seguintes eventos:
• O detector é Mascarado (O relé do Alarme também se
abre)
• Falha no auto teste
• A voltagem de entrada é inferior a 8VDC
LED
Controle remoto da operação do LED
Quando um “Sinal de Acionamento”** é aplicado ao
terminal de entrada do LED, todos os LEDs serão
desativados .
Os LEDs são ativados se nada estiver conectado (a
menos que o jumper do LED esteja em OFF) ou 0V/12V
for aplicado (segundo a posição do Jumper de Entrada
do LED, 12V ou 0V)
SET
Controle remoto do SET/UNSET
SET: Se um ”Sinal de Acionamento”** é aplicado, a
detecção anti-máscara é desativada (para a
con¿guração de Grade 2).
UNSET: Se nada é conectado ou 0V/12V é aplicado
(segundo a posição do Jumper de Entrada do
LED/SET, 12V ou 0V) a detecção anti-máscara é
habilitada (ver também “Green Line” e “Auto Teste
Remoto” na tabela Con¿gurações do Jumper).
Con¿guração dos Jumpers
Jumper Função
SW1-2: ACT
Usado para determinar se o modo ACT está
habilitado ou desativado.
ON
ACT Habilitado
Importante: Não use o modo ACT™ se pensa que
possam existir objetos que se movam fora da área
protegida requerida, um corredor por exemplo.
OFF
ACT Desativado.
J4 - ENTRADA
DO SET/LED
Usado para determinar a polaridade da entrada
externa.
(Predeterm.)
(Predeterm.)
(Predeterm.)
(Predeterm.)
Ver a seção Terminais de Fiação, terminais LED e SET
Ver a seção Terminais de Fiação, terminais LED e SET
SW1-1: LED
Usado para determinar a operação dos LEDs do
detector.
ON
LEDs estão habilitados, permitindo o controle do LED
através do Terminal de Entrada do LED
OFF
LEDs estão desativados.
MIN MAX
MIN MAX
MIN MAX
J1 - Tamper EOL
J2 - Alarm EOL
J3 -
FAULT/AM EOL
J1 - Tamper EOL
J2 - Alarm EOL
J3 -
FAULT/AM EOL
Figure 3.
Terminal Wiring
12VDC
+ 12V- ALARM TAMPERFAULT/AM LED SET
Figure 1.
Installation - Front cover removal
Visualização dos LEDs
LED Estado Descrição
Amarelo
Aceso
Detecção de Infravermelho
Passivo
Piscando Problema no canal de
Infravermelho Passivo
RISCO Group Limited Warranty
RISCO Group and its subsidiaries and af¿liates ("Seller") warrants its products
to be free from defects in materials and workmanship under normal use for 24
months from the date of production. Because Seller does not install or connect
the product and because the product may be used in conjunction with products
not manufactured by the Seller, Seller cannot guarantee the performance of
the security system which uses this product. Seller's obligation and liability
under this warranty is expressly limited to repairing and replacing, at Seller's
option, within a reasonable time after the date of delivery, any product not
meeting the speci¿cations. Seller makes no other warranty, expressed or
implied, and makes no warranty of merchantability or of ¿tness for any particular
purpose.
In no case shall seller be liable for any consequential or incidental damages for
breach of this or any other warranty, expressed or implied, or upon any other
basis of liability whatsoever.
Seller's obligation under this warranty shall not include any transportation
charges or costs of installation or any liability for direct, indirect, or consequential
damages or delay.
Seller does not represent that its product may not be compromised or
circumvented; that the product will prevent any personal injury or property loss
by burglary, robbery, ¿re or otherwise; or that the product will in all cases provide
adequate warning or protection. Buyer understands that a properly installed and
maintained alarm may only reduce the risk of burglary, robbery or ¿re without
warning, but is not insurance or a guaranty that such event will not occur or that
there will be no personal injury or property loss as a result thereof.
Consequently seller shall have no liability for any personal injury, property
damage or loss based on a claim that the product fails to give warning. However,
if seller is held liable, whether directly or indirectly, for any loss or damage
arising under this limited warranty or otherwise, regardless of cause or origin,
seller's maximum liability shall not exceed the purchase price of the product,
which shall be complete and exclusive remedy against seller.
No employee or representative of Seller is authorized to change this warranty
in any way or grant any other warranty.
WARNING: This product should be tested at least once a week.
Se 12VDC é aplicado, e o Jumper de Entrada do LED/SET está na
posição 12V
- OU -
oV é aplicado e o Jumper de Entrada do LED/SET está na posição 12V
**Sinal de Acionamento-
RISCO
Figure 2.
General view - Back cover, Knockouts
Figure 4.
Schematic of EOL resistors
Figure 5.
LuNAR DT Grade 3 with ACT™
& Green Line lense and
microwave range
2. Utilizzando uno strumento appropriato aprire i fori a sfondare,
della base del contenitore come illustrato in Figura 2.
2. Usando uma ferramenta apropriada, abra os seguintes furos
pré-marcados na base do detector (ver Figura 2).
MW
IR
05101551015
023456123451
°
0
1
2
3
4
20 20
10
5
0
13
6
0510
689101112743215
15
0
20 25 30 4035
0
5
10
6
8
9
10
11
12
7
4
3
2
1
5
15
20
25
30
40
35
Top View
Feet
Feet
Meters
Meters
Feet
Meters
Feet Meters
Side View
MW SENS
G
PIR Sensor
Mounting
Hole Knockout
Back Tamper
Back Tamper
Knockout
(Not Visible)
R
Y
SET/LED INPUT
J3-FAULT/AM
MIN MAX
SW1
Mounting
Hole Knockout
Tamper
Switch
Wiring Knockouts
Terminal Block
Mounting
Hole Knockouts
Active IR
Anti - Mask
Receiver
MW Range
Adjustment
MW
Module
Mounting
Hole Knockout
Active IR
Anti - Mask
Transmitter
S2
- 12V +
ALARM
TAMPER
SET LE D FAULT/AM
J4
0V
12V
1234
ON
J2-ALARM
EOL
J1-TAMPER
EOL
• Il rivelatore è mascherato (anche il relé di allarme viene
attivato)
RISCO Contacting Info
UK Tel: +44-161-655-5500 E-mail: technical@riscogroup.co.uk
ITALY Tel: +39-02-66590054 E-mail: info@riscogroup.it
SPAIN Tel: +34-91-490-2133 E-mail: support-es@riscogroup.com
FRANCE Tel: +33-164-73-28-50 E-mail: support-fr@riscogroup.com
BELGIUM Tel: +32-2522-7622 E-mail: support-be@riscogroup.com
U.S.A Tel: +1-631-719-4400 E-mail: support-usa@riscogroup.com
BRASIL Tel: +1-866-969-5111 E-mail: support-br@riscogroup.com
CHINA Tel: +86-21-52390066 E-mail: support-cn@riscogroup.com
POLAND Tel: +48-22-500-28-40 E-mail: poland@riscogroup.com
ISRAEL Tel: +972-3-963-7777 E-mail: info@riscogroup.com
- 12V +

Related product manuals