EasyManua.ls Logo

RITFIT PLC01 - Page 19

RITFIT PLC01
24 pages
Print Icon
To Next Page IconTo Next Page
To Next Page IconTo Next Page
To Previous Page IconTo Previous Page
To Previous Page IconTo Previous Page
Loading...
17
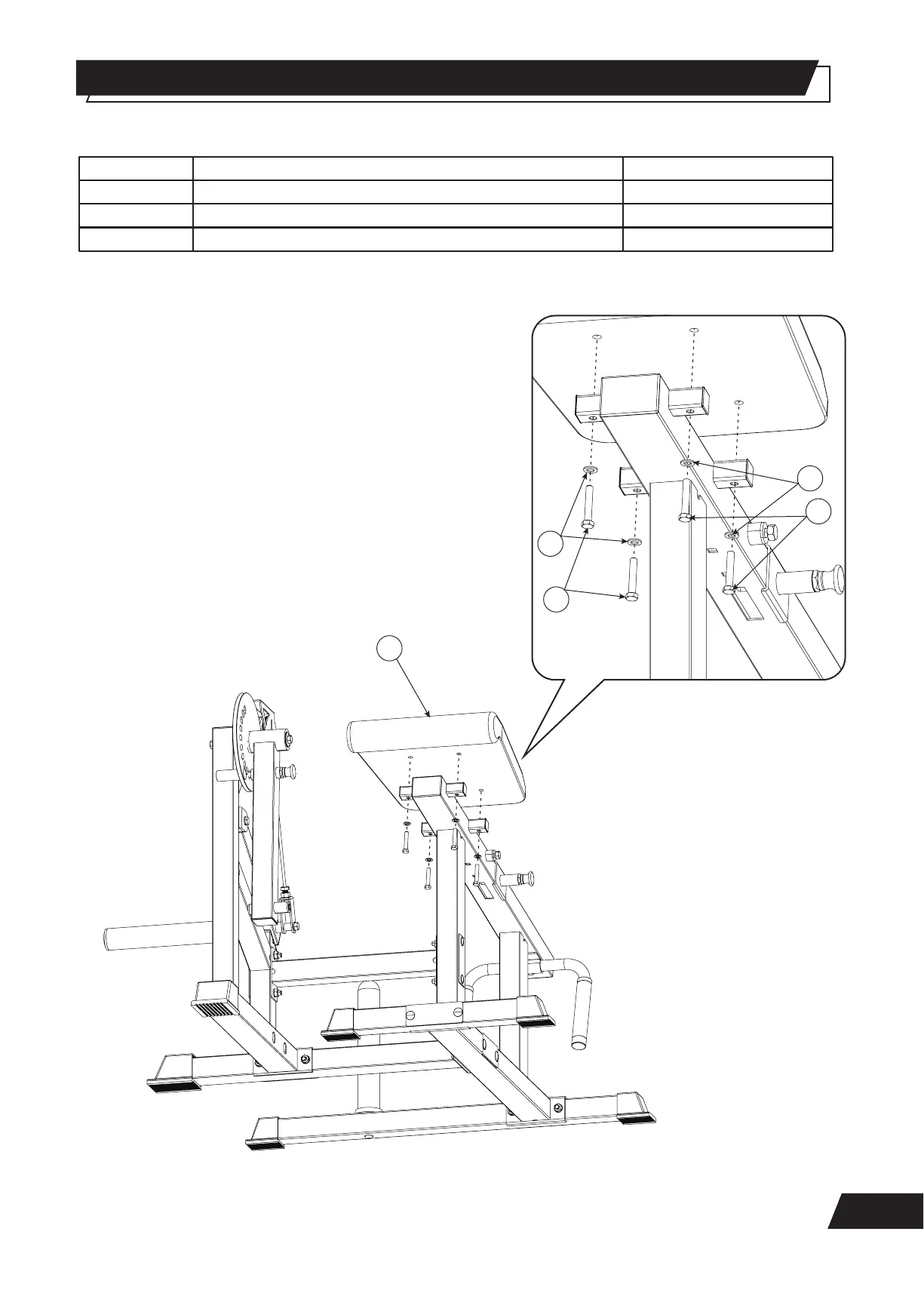
STEP 11
ASSEMBLY AND ADJUSTMENT
Seat Cushion
M8x40 Hex Bolt
1
NO. DESCRIPTION
QUANTITY
4
13
e
M8 Washer
4i
13
e
e
i
i

Related product manuals