EasyManua.ls Logo

Robin EH18V OHV - Page 23

Robin EH18V OHV
68 pages
Print Icon
To Next Page IconTo Next Page
To Next Page IconTo Next Page
To Previous Page IconTo Previous Page
To Previous Page IconTo Previous Page
Loading...
-
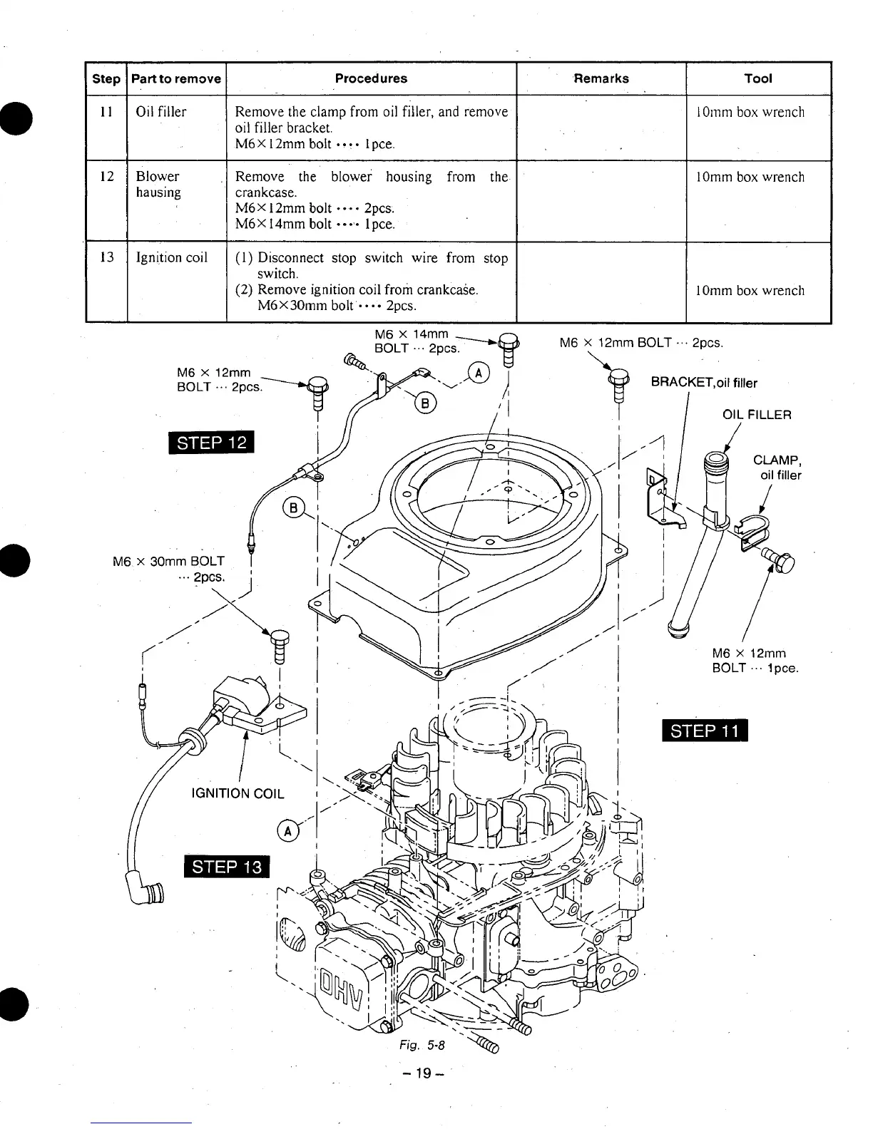
Step
11
12
-
13
Part
to
remove
Remove the clamp from oil filler, and remove
Oil
filler
Remarks Procedures
oil filler bracket.
M6X
12mm
bolt
-
-
Ipce.
Blower
hausing
Remove the blower housing from the
crankcase.
M6x
12mm bolt
....
2pcs.
M6X
14mm bolt
....
lpce.
Ignition coil
(1)
Disconnect stop switch wire from
stop
switch.
M6
X
30mm bolt
-
-
-e
2pcs.
(2) Remove ignition coil
from
crankcase.
Tool
I
I
Omm
box
wrench
lOmm
box
wrench
lOmm
box
wrench
-
19-

Related product manuals