EasyManua.ls Logo

Robin RGV13000T - Wiring Diagram

Robin RGV13000T
47 pages
Print Icon
To Next Page IconTo Next Page
To Next Page IconTo Next Page
To Previous Page IconTo Previous Page
To Previous Page IconTo Previous Page
Loading...
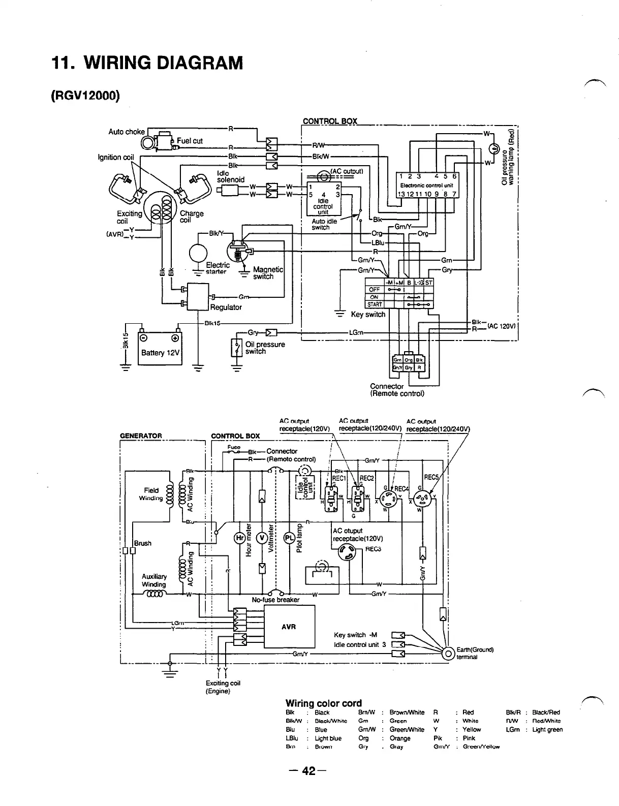
11. WIRING DIAGRAM
(RGV12000)
mm)-;- JI I
I I I I
I
, , 1 1 1
II f-5 III
,LEJ
Connector
(Remote control)
GENERATOR
CONTROL BOX
AC output
AC output
AC output
receptacle(l20V) receptxle(l~~Z40V) receptacle(l20/24OV)
1 4Gm
Y
: :
i---.-
Ik----L*-----
---__-_--------------
=
7;
Exciting coil
(Engine)
: Red
: White
: Yellow
BWR : BlecWRed
FtiW : R&White
LGm : Light green
Wiring color cord
Btk :
Biick
BrmVi : BrawvWhite R
BMW : Bteck,Whnte
Gm : Green
W
Blr:
: Blue
GnW : GreenWhite Y
LBlu : Liptblue Org : Orange
Bm
: Brown Gry : Gray
Pik : Pink
Gmh’ : GreemWeilow
-42-

Related product manuals