EasyManua.ls Logo

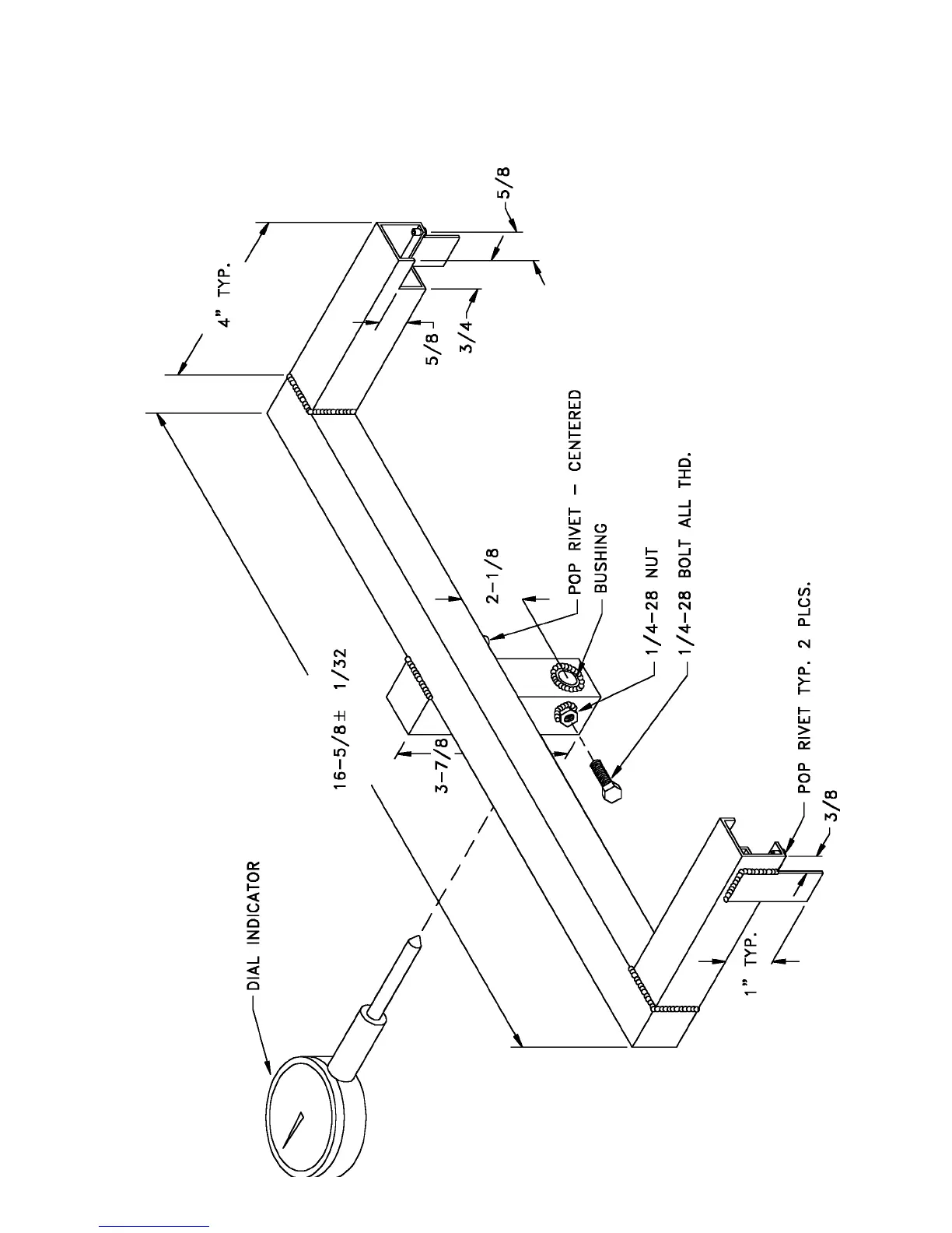
RotorWay Exec 162F - Hub Shimming Fixture Drawing

Default Icon
91 pages
Print Icon
To Next Page IconTo Next Page
To Next Page IconTo Next Page
To Previous Page IconTo Previous Page
To Previous Page IconTo Previous Page
Loading...
RotorWay International
Exec 162F Maintenance Manual
59
HUB SHIMMING FIXTURE DRAWING

Related product manuals