EasyManua.ls Logo

RS PRO IPS-606D - Page 60

RS PRO IPS-606D
96 pages
Print Icon
To Next Page IconTo Next Page
To Next Page IconTo Next Page
To Previous Page IconTo Previous Page
To Previous Page IconTo Previous Page
Loading...
G8
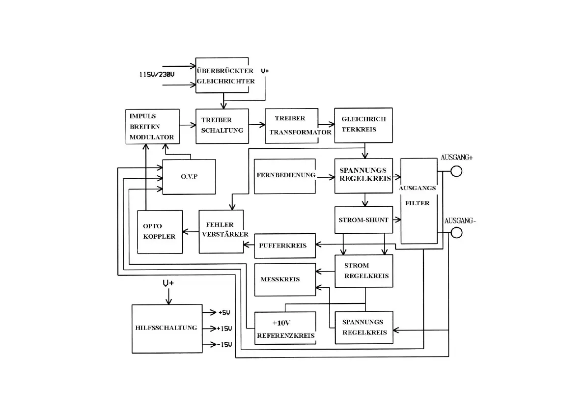
Abbildung 1: Blockdiagramm

Table of Contents

Related product manuals