EasyManua.ls Logo

Runva EWK2000 - Winch Assembly Drawing

Runva EWK2000
15 pages
Print Icon
To Next Page IconTo Next Page
To Next Page IconTo Next Page
To Previous Page IconTo Previous Page
To Previous Page IconTo Previous Page
Loading...
9
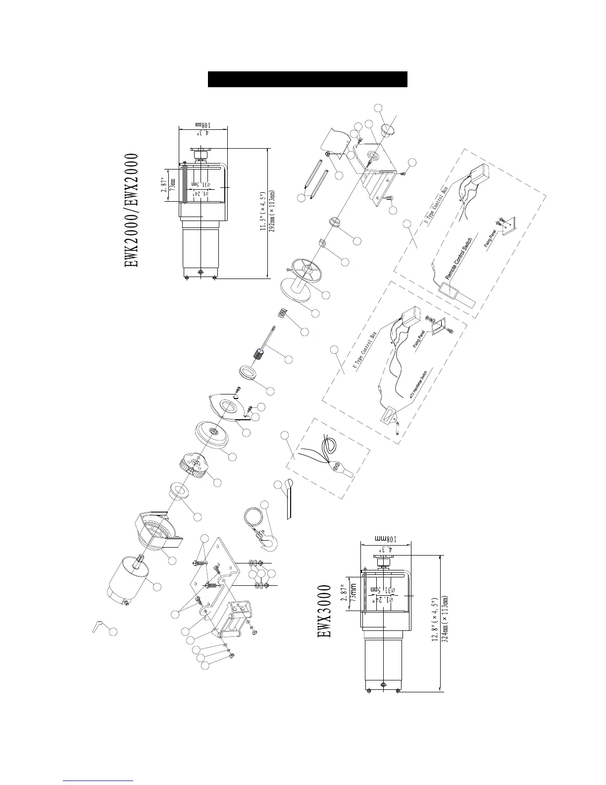
WINCH ASSEMBLY DRAWING
8
7
5
4
2
1
6
17
7
8
18
20
19
15
21
16
9
30
29
28
26
27
25
10
11
13
12
14
23
24
24
25
22
26
31
O U T
IN
IN
O U T
33
34
35
3
32

Related product manuals