EasyManua.ls Logo

Ryobi p546 - Felling Trees

Ryobi p546
92 pages
Print Icon
To Next Page IconTo Next Page
To Next Page IconTo Next Page
To Previous Page IconTo Previous Page
To Previous Page IconTo Previous Page
Loading...
19 - English
OPERATION
FELLING TREES
See Figures 12 - 15.
HAZARDOUS CONDITIONS
WARNING:
Do not fell trees during periods of high wind or
heavy precipitation. Wait until the hazardous
weather has ended.
WARNING:
Closely check for broken or dead branches,
which could fall while cutting and do not cut
near buildings or electrical wires if you do not
know the direction of tree fall. Do not cut at
night or during bad weather conditions, such as
rain, snow, or strong winds, which can reduce
visibility and control of the chain saw. If the tree
you are felling makes contact with any utility
line, you should discontinue use of the chain
saw and immediately notify the utility company.
Failure to follow these instructions could result
in death or serious personal injury.
When felling a tree, it is important that you follow
these warnings and instructions to prevent pos-
sible serious injury.
Do not cut down trees having an extreme lean or
large trees with rotten limbs, loose bark, or hol-
low trunks. Have these trees pushed or dragged
down with heavy equipment, then cut them up.
Do not cut trees near electrical wires or buildings.
Check the tree for damaged or dead branches
that could fall and hit you during felling.
Periodically glance at the top of the tree during
the backcut to assure the tree is going to fall in
the desired direction.
If the tree starts to fall in the wrong direction,
or if the saw gets caught or hung up during the
fall, leave the saw and save yourself!
Felling a tree - When bucking and felling opera-
tions are being performed by two or more per-
sons, at the same time, the felling operation
should be separated from the bucking operation
by a distance of at least twice the height of the
Fig. 12
45°
45°
PLANNED LINE
OF FALL
RETREAT PATH
RETREAT PATH
tree being felled. Trees should not be felled in a
manner that would endanger any person, strike
any utility line or cause any property damage. If
the tree does make contact with any utility line, the
utility company should be notified immediately.
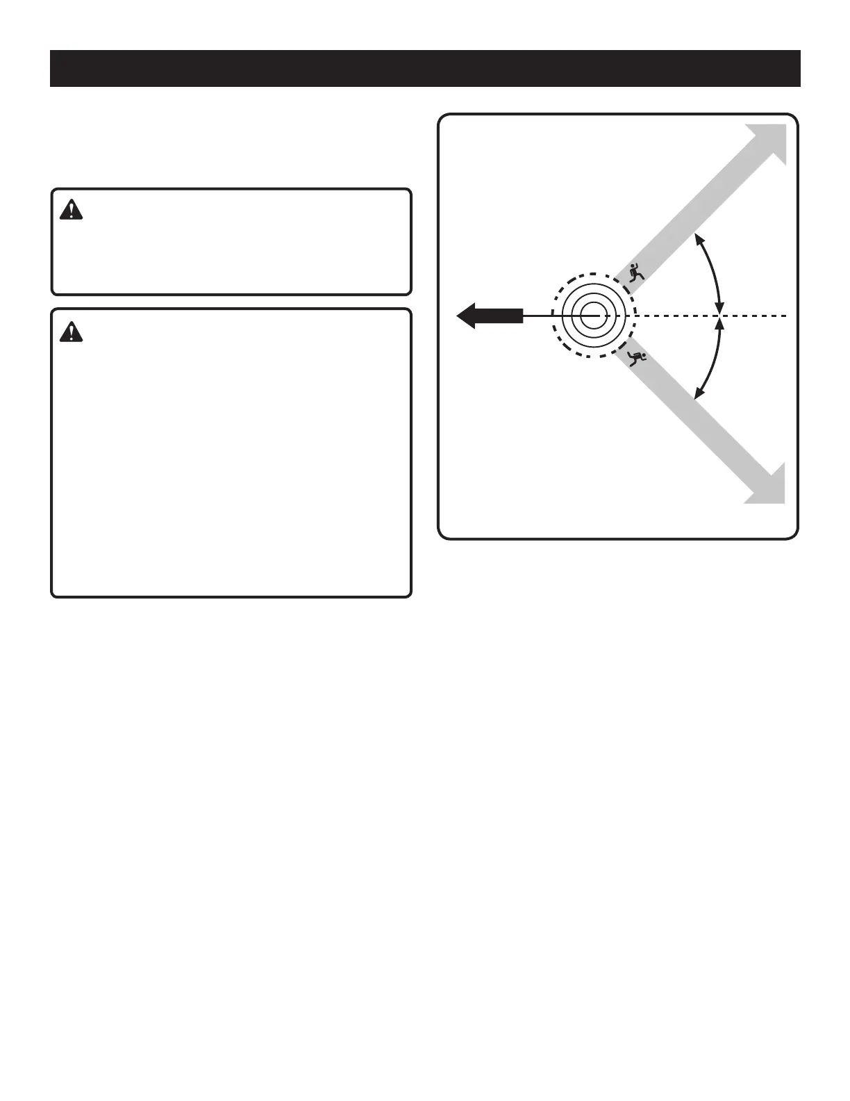
Before any cuts are started, pick your escape
route (or routes in case the intended route is
blocked); clear the immediate area around the
tree and make sure there are no obstructions in
your planned path of retreat. Clear paths of safe
retreat should extend back and diagonally (45°)
to the rear of the planned line of fall. When the
tree begins to fall, you should retreat away from
the direction of fall along a retreat path and at
least 20 feet away from the trunk in case it kicks
back over the stump. See Figure 12.
Before felling is started, consider the force and
direction of the wind, the lean and balance of
the tree, and the location of large limbs. These
things influence the direction in which the tree
will fall. Do not try to fell a tree along a line dif-
ferent from its natural line of fall.
The chain saw operator should keep on the
uphill side of the terrain as the tree is likely to
roll or slide downhill after it is felled.

Related product manuals