EasyManua.ls Logo

Ryobi p546 - Page 77

Ryobi p546
92 pages
Print Icon
To Next Page IconTo Next Page
To Next Page IconTo Next Page
To Previous Page IconTo Previous Page
To Previous Page IconTo Previous Page
Loading...
19 - Español
TALA DE ÁRBOLES
Vea las figuras 12 a 15.
CONDICIONES PELIGROSAS
ADVERTENCIA:
No tale árboles durante períodos de viento o
lluvia intensos. Espere hasta que cese el tiempo
peligroso.
ADVERTENCIA:
Controle con cuidado que no haya ramas rotas o
muertas que puedan caer mientras tala, y no tale
cerca de edificios o cables eléctricos si no sabe
en qué dirección caerá el árbol. No tale de noche
o con malas condiciones climáticas como lluvia,
nieve o fuertes vientos, porque tendrá menor
visibilidad y menor control de la motosierra. Si
el árbol que está talando cae sobre una línea de
transmisión de algún servicio, deje de usar la
motosierra y notifique de inmediato a la compañía
de servicios. No seguir estas instrucciones podría
causar la muerte o lesiones personales graves.
Al talar un árbol, es importante siga las siguientes
advertencias y instrucciones para evitar toda posible
lesión seria.
No corte árboles extremadamente delgados ni
árboles grandes con ramas podridas, corteza
suelta o troncos huecos. Permita que expertos
derriben estos árboles con equipo pesado de
empuje o arrastre, y después recórtelos.
No corte árboles cerca de cables eléctricos o de
edificios.
Revise cada árbol para ver si tiene ramas muertas
que pudiesen caer y golpearlo al talar aquél.
Periódicamente eche un vistazo a la copa del árbol
durante el corte trasero, para asegurarse de que
caiga en la dirección deseada.
Si el árbol comienza a caer en una dirección
equivocada, o si la sierra se pellizca o queda
colgada en el tronco durante la caída del árbol,
¡deje la sierra y sálvese!
Tala de árboles - Cuando las tareas de tronzado
(corte en tramos más pequeños) y de tala de
árboles son efectuadas por dos o más personas
al mismo tiempo, la operación de tronzado de un
árbol previamente talado debe separarse de la de
la tala del árbol siguiente por una distancia igual
FUNCIONAMIENTO
Fig. 12
45°
45°
LÍNEA DE CAÍDA
PLANIFICADA
TRAYECTORIA DE RETIRADA
TRAYECTORIA DE RETIRADA
al doble de la altura del árbol que esté talándose
en ese momento. Debe evitarse cortar los árboles
de una manera que pudieran poner en peligro a
cualquier persona, golpear las líneas de servicios
públicos o causar cualquier daño material. Si el
árbol golpea cualquier red de servicio público, la
compañía correspondiente debe ser notificada de
inmediato.
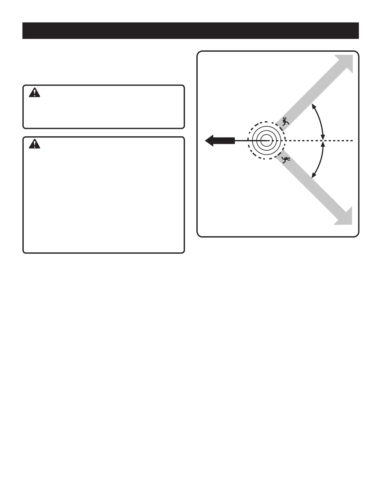
Antes de iniciar cualquier corte, escoja su ruta de
escape (o rutas, en caso de que esté bloqueada
la ruta planeada); despeje el área inmediata
alrededor del árbol y asegúrese de que no
haya obstrucciones en la trayectoria de retirada
planeada. Las trayectorias despejadas para una
retirada segura deben extenderse hacia atrás en
forma diagonal (45º) detrás de la línea de caída
planeada. Cuando el árbol empiece a caer, usted
deberá retirarse de la dirección de la caída usando
la trayectoria de retirada y a una distancia de 6 m
(20 pies) del tronco en caso de que exista un
contragolpe sobre la cepa. Vea la figura 12.
Antes de iniciar la tala del árbol, considere la
fuerza y la dirección del viento, la inclinación y el
equilibrio del árbol, y por último la ubicación de
las ramas más grandes del mismo. Estos aspectos
influyen en la dirección de caída del árbol. No
trate de talar ningún árbol a lo largo de una línea
diferente de su línea natural de caída.

Related product manuals