EasyManua.ls Logo

Ryobi RY43154 - Page 57

Ryobi RY43154
108 pages
Print Icon
To Next Page IconTo Next Page
To Next Page IconTo Next Page
To Previous Page IconTo Previous Page
To Previous Page IconTo Previous Page
Loading...
Page 22 — Français
ABATTAGE D’ARBRES
Voir les figures 17 à 20.
SITUATIONS DANGEREUSES
AVERTISSEMENT :
Ne pas effectuer d’abattage par grand vent ou
en cas de fortes précipitations. Attendre que le
temps se calme.
AVERTISSEMENT :
Surveiller attentivement les branches brisées ou
mortes qui peuvent tomber pendant le taillage et
éviter de tailler près des édifices ou fils électriques
si la direction de la chute de l’arbre est incertaine.
Ne pas tailler le soir ou pendant des conditions
climatiques mauvaises, comme sous la pluie,
la neige, lors de vents forts. Ces conditions
peuvent réduire la visibilité et la manoeuvrabilité
de la scie à chaîne. Si l’arbre à abattre entre en
contact avec tout câble de service public, il faut
cesser l’utilisation de la scie à chaîne et informer
immédiatement le fournisseur de service public.
Ne pas suivre ces directives peut causer des
blessures graves ou mortelles.
Lors de l’abattage d’un arbre il est impératif de suivre
le avertissements et les instructions pour éviter des
risques de blessure grave.
Ne pas couper d’arbres extrêmement inclinés ou
de gros arbres aux branches pourries, à l’écorce
décollée ou au tronc creux. Ces arbres doivent
être poussés ou tirés à terre par un engin de
chantier lourd avant d’être débités.
Ne pas abattre d’arbres se trouvant à proximité
de lignes électriques ou de bâtiments.
Regarder si l’arbre comporte des branches mortes
ou endommagées, risquant de tomber et de
heurter l’utilisateur pendant l’abattage.
Pendant la coupe du trait d’abattage, observer
de temps à autre la cime de l’arbre pour s’assurer
qu’il tombera dans la direction souhaitée.
Si l’arbre commence à tomber dans le mauvais
sens ou si la scie est pincée ou bloquée pendant
la chute, l’abandonner et s’échapper !
Abattage — Lorsque deux personnes ou plus
effectuent des opérations de tronçonnage à
proximité d’un abattage, elles doivent se trouver
à une distance correspondant à au moins deux
fois la hauteur de l’arbre abattu. Les arbres ne
doivent pas être abattus d’une manière risquant
de mettre quiconque en danger, de heurter une
ligne électrique ou de causer des dommages
matériels. Si une ligne électrique est heurtée, la
compagnie d’électricité doit être immédiatement
notifiée.
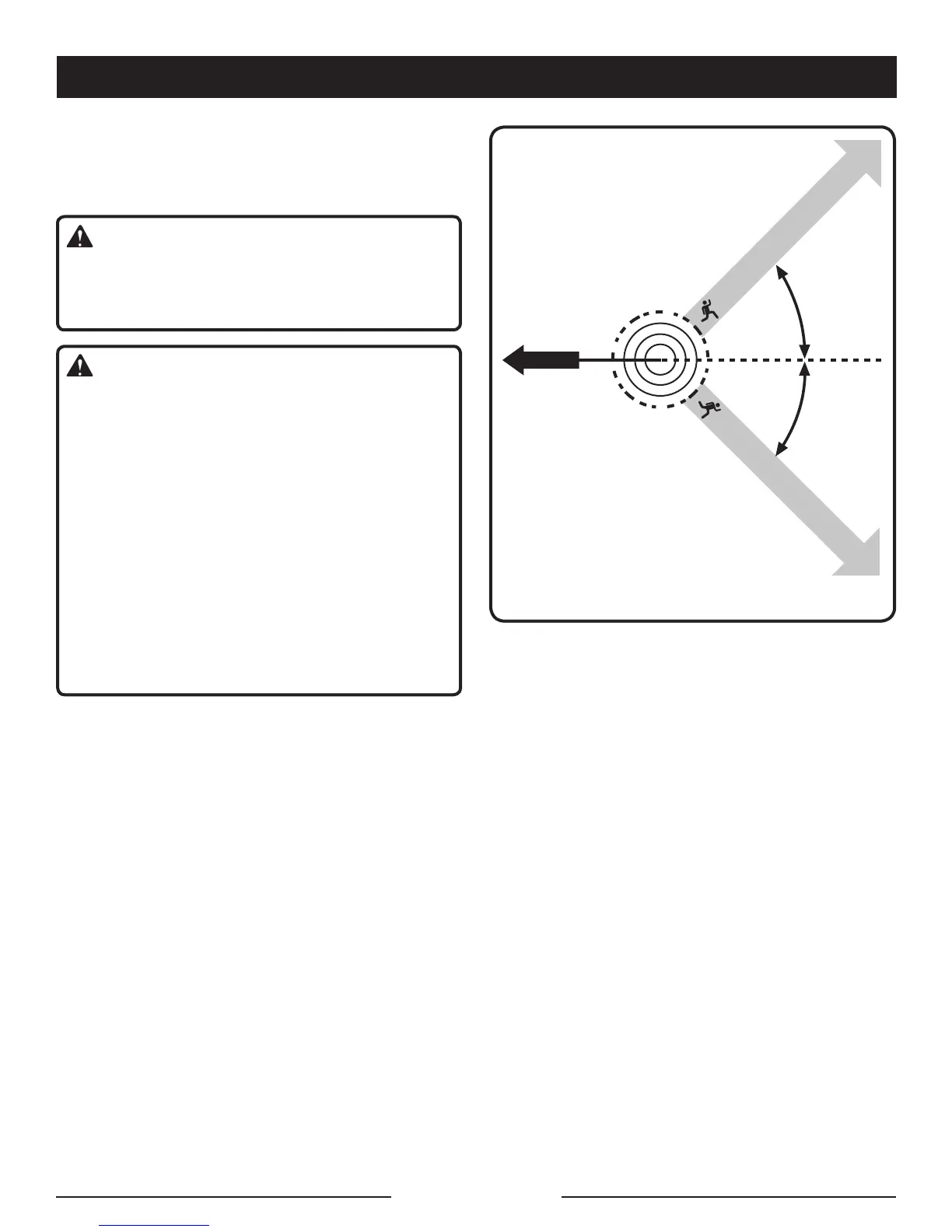
Avant de commencer une coupe, déterminer
un chemin d’échappement (ou plusieurs au
cas ou le chemin prévu serait bloqué) déblayer
les environs immédiats et s’assurer qu’aucun
obstacle se trouve sur le chemin d’échappement
prévu. Les trajectoires sécuritaires du chemin
d’échappement doivent se situer à l’arrière et
en diagonale (45°) à l’arrière de la ligne de chute
prévue. Lorsque l’arbre commence à tomber,
il faut s’écarter de la ligne de chute et suivre le
chemin d’échappement et s’éloigner d’au moins
6 m (20 pi) du tronc au cas où l’arbre rebondirait
sur la souche. Voir la figure 17.
Avant de commencer l’abattage, tenir compte de
la force et de la direction du vent, de l’inclinaison
et de l’équilibre de l’arbre et de la position des
UTILISATION
Fig. 17
45°
45°
LIGNE DE
CHUTE
PRÉVUE
CHEMIN D’ÉCHAPPEMENT
CHEMIN D’ÉCHAPPEMENT

Related product manuals