EasyManua.ls Logo

Ryobi RY43155 - Page 88

Ryobi RY43155
104 pages
Print Icon
To Next Page IconTo Next Page
To Next Page IconTo Next Page
To Previous Page IconTo Previous Page
To Previous Page IconTo Previous Page
Loading...
Página 20 — Español
Siempre corte con ambos pies bien apoyados en
suelo sólido para evitar perder el equilibrio.
No corte arriba de la altura los pecho, ya que si se
tiene la sierra más arriba de esa altura, es difícil de
controlar bajo la fuerza del contragolpe.
No tale árboles cerca de cables eléctricos o de
edificios. Deje tal operación a los profesionales.
Corte solamente cuando la visibilidad y la luz sean
adecuadas para ver claramente.
TALA DE ÁRBOLES
Vea las figuras 12 a 15.
CONDICIONES PELIGROSAS
ADVERTENCIA:
No tale árboles durante períodos de viento o lluvia
intensos. Espere hasta que cese el tiempo peligroso.
ADVERTENCIA:
Controle con cuidado que no haya ramas rotas o
muertas que puedan caer mientras tala, y no tale
cerca de edificios o cables eléctricos si no sabe en
qué dirección caerá el árbol. No tale de noche o con
malas condiciones climáticas como lluvia, nieve o
fuertes vientos, porque tendrá menor visibilidad y
menor control de la motosierra. Si el árbol que está
talando cae sobre una línea de transmisión de algún
servicio, deje de usar la motosierra y notifique de
inmediato a la compañía de servicios. No seguir
estas instrucciones podría causar la muerte o
lesiones personales graves.
Al talar un árbol, es muy importante que siga
estrictamente estas advertencias e instrucciones para
evitar la muerte u otras lesiones personales serias.
No corte árboles extremadamente delgados ni
árboles grandes con ramas podridas, corteza suelta
o troncos huecos. Permita que expertos derriben
estos árboles con equipo pesado de empuje o
arrastre, y después recórtelos.
No corte árboles cerca de cables eléctricos o de
edificios.
Revise cada árbol para ver si tiene ramas muertas
que pudiesen caer y golpearlo al talar aquél.
Periódicamente eche un vistazo a la copa del árbol
durante el corte trasero, para asegurarse de que
caiga en la dirección deseada.
FUNCIONAMIENTO
Si el árbol comienza a caer en una dirección
equivocada, o si la sierra se pellizca o queda colgada
en el tronco durante la caída del árbol, ¡deje la sierra
y sálvese!
Tala de árboles — Cuando las tareas de tronzado
(corte en tramos más pequeños) y de tala de árboles
son efectuadas por dos o más personas al mismo
tiempo, la operación de tronzado de un árbol
previamente talado debe separarse de la de la tala
del árbol siguiente por una distancia igual al doble
de la altura del árbol que esté talándose en ese
momento. Debe evitarse cortar los árboles de una
manera que pudieran poner en peligro a cualquier
persona, golpear las líneas de servicios públicos o
causar cualquier daño material. Si el árbol golpea
cualquier red de servicio público, la compañía
correspondiente debe ser notificada de inmediato.
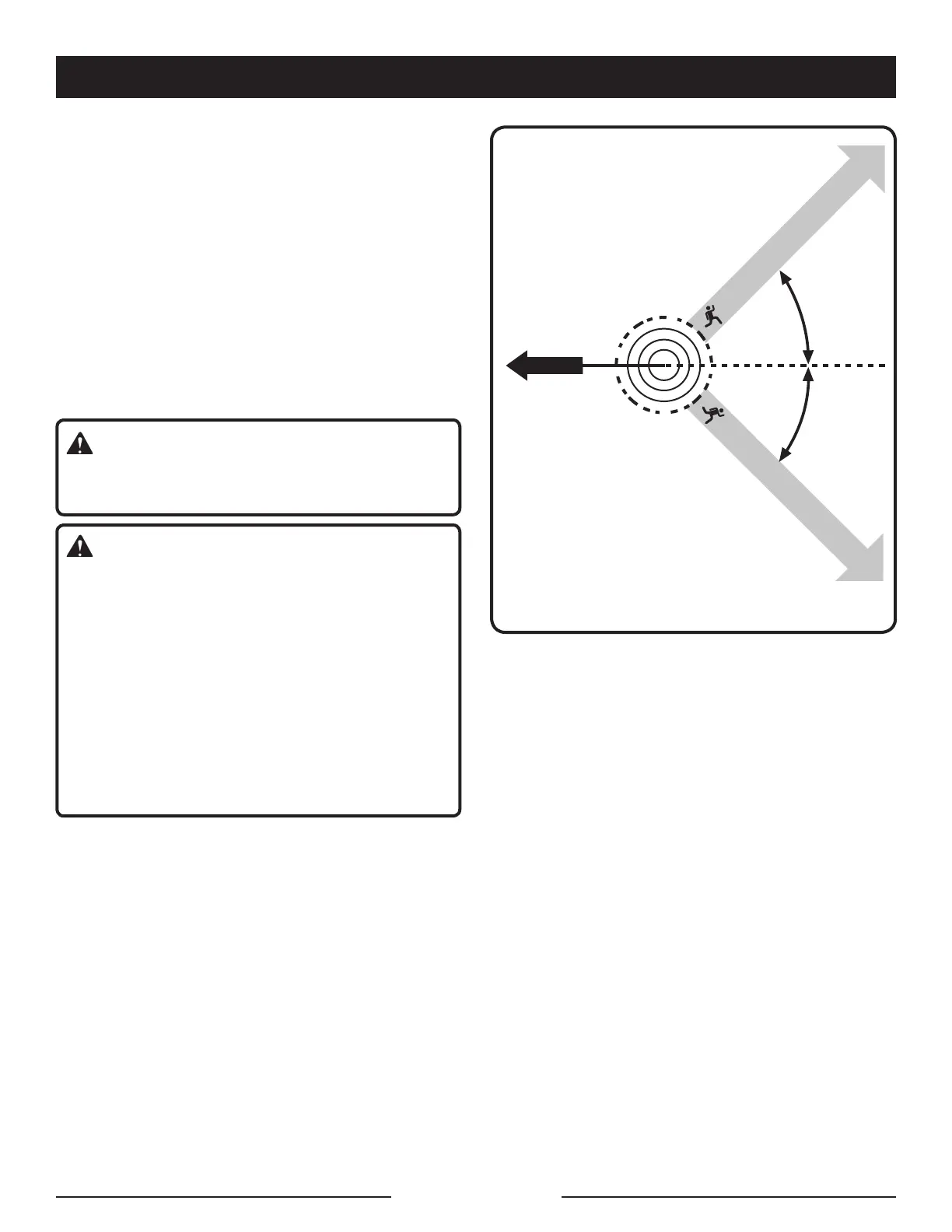
Antes de iniciar cualquier corte, escoja su ruta de
escape (o rutas, en caso de que esté bloqueada
la ruta planeada); despeje el área inmediata
alrededor del árbol y asegúrese de que no haya
obstrucciones en la trayectoria de retirada planeada.
Las trayectorias despejadas para una retirada segura
deben extenderse hacia atrás en forma diagonal
(45º) detrás de la línea de caída planeada. Cuando
Fig. 12
45°
45°
LÍNEA
PLANEADA
DE CAÍDA
RUTA DE ESCAPE
RUTA DE ESCAPE

Related product manuals