EasyManua.ls Logo

Ryobi RY5018 - Page 98

Ryobi RY5018
120 pages
Print Icon
To Next Page IconTo Next Page
To Next Page IconTo Next Page
To Previous Page IconTo Previous Page
To Previous Page IconTo Previous Page
Loading...
Página 21 — Español
TALA DE ÁRBOLES
CONDICIONES PELIGROSAS
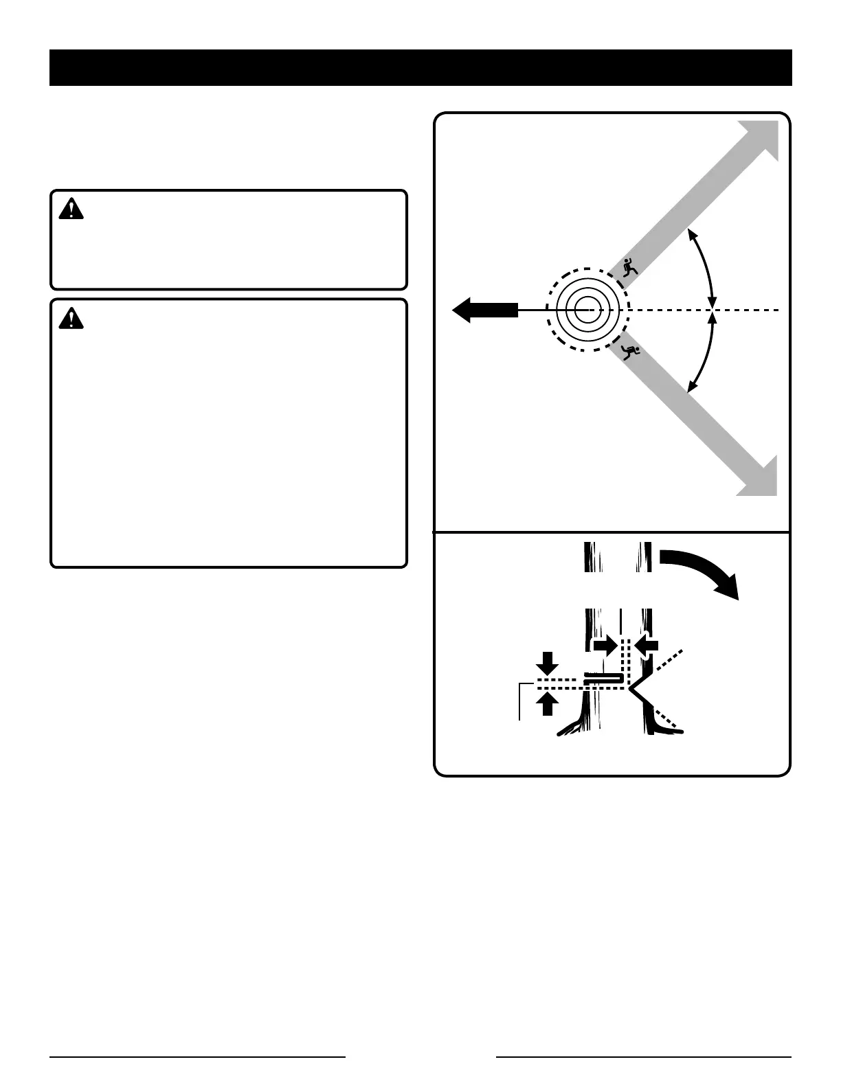
Vea las figuras 20 a 23.
ADVERTENCIA:
No tale árboles durante períodos de viento o
lluvia intensos. Espere hasta que cese el tiempo
peligroso.
ADVERTENCIA:
Controle con cuidado que no haya ramas rotas o
muertas que puedan caer mientras tala, y no tale
cerca de edificios o cables eléctricos si no sabe
en qué dirección caerá el árbol. No tale de noche
o con malas condiciones climáticas como lluvia,
nieve o fuertes vientos, porque tendrá menor
visibilidad y menor control de la motosierra. Si
el árbol que está talando cae sobre una línea de
transmisión de algún servicio, deje de usar la
motosierra y notifique de inmediato a la compañía
de servicios. No seguir estas instrucciones podría
causar la muerte o lesiones personales graves.
Al talar un árbol, es muy importante que siga
estrictamente estas advertencias e instrucciones para
evitar la muerte u otras lesiones personales serias.
No corte árboles extremadamente delgados ni
árboles grandes con ramas podridas, corteza
suelta o troncos huecos. Permita que expertos
derriben estos árboles con equipo pesado de
empuje o arrastre, y después recórtelos.
No corte árboles cerca de cables eléctricos o de
edificios.
Revise cada árbol para ver si tiene ramas muertas
que pudiesen caer y golpearlo al talar aquél.
Periódicamente eche un vistazo a la copa del árbol
durante el corte trasero, para asegurarse de que
caiga en la dirección deseada.
Si el árbol comienza a caer en una dirección
equivocada, o si la sierra se pellizca o queda
colgada en el tronco durante la caída del árbol,
¡deje la sierra y sálvese!
Tala de árboles – Cuando las tareas de tronzado
(corte en tramos más pequeños) y de tala de
árboles son efectuadas por dos o más personas
al mismo tiempo, la operación de tronzado de un
MUESCA -
APROX. 1/3 DEL
DIÁMETRO DEL
TRONCO
CORTE TRASERO
51 mm (2 pulg.)
FUNCIONAMIENTO
Fig. 20
Fig. 21
BISAGRA 51 mm (2 pulg.)
O 1/10 DEL DIÁM.
45°
45°
LÍNEA DE CAÍDA
PLANIFICADA
TRAYECTORIA DE RETIRADA
TRAYECTORIA DE RETIRADA

Related product manuals