EasyManua.ls Logo

Saci OPTIMA - Page 118

Default Icon
Print Icon
To Next Page IconTo Next Page
To Next Page IconTo Next Page
To Previous Page IconTo Previous Page
To Previous Page IconTo Previous Page
Loading...
TURKCE
116
6. DEPOLAMA
Bütün pompalar, kapalı, kuru ve nemli havada, mümkünse sabit ve tozlu olmayan bir yerde saklanmalıdır. Pompalar,
montaj aşamasına kadar çıkarılmamaları gereken orijinal ambalajları içerisinde verilmektedir. Aksi takdirde, emme
ve tahliye ağzını kapalı tutunuz.
7. MONTAJ
Genel
P
ompa su seviyesine mumkun olduğunca yakın monte edilmelidir, IEC yayın No.364’e göre en duşuk emiş
mesafesi ve kayıplarını azaltmak için yatay pozisyonda havuz kupeştesinden en az 2 metre bırakılmalıdır.
Ön-filtre sepetini pompa kapağını açarak çıkarmak, temizlemek ve tekrar yerleştirmek için gerekli alan montaj
sahasında bırakılmalıdır.
Pompa sert ve duz bir zemine monte edilmelidir. Pompanın çalışmasını engelleyecek titremeler ve normalden fazla
çıkabilecek sesleri önlemek için pompa tabanındaki montaj için uretilen delikler kullanılarak zemine sabitlenmelidir.
Pompa dikey pozisyonda su seviyesinin 3,5 metre uzerine monte edilmemelidir.
Pompa, uygun kendinden emiş için su seviyesinden en fazla 2,5 metre uzerinde bağlanabilir.
Pompa su baskınlarına karşı korunacak şekilde ve havalandırmalı bir ortamda çalıştırılmalıdır. Havalandırmanın
donma riskine karşı önlemi alınmış olmalıdır. Makine dairesi dışı montajlarda pompa yağmurdan korunaklı olmalı
ve EEC standartlarında belirtilen H07 tip F guç kablosu kullanılmalıdır. Normal şartlarda makine, elektrik kablosu
olmadan teslim edilmektedir. Bu durumda, motor bağlantı kutusu çıkışında kesilmiş pompa test kabloları görünebilir.
Bu kabloların, her bir ülkede yürürlükte olan mevzuata uygun yalıtımlı elektrik kablolarıyla değiştirilmesi
gerekmektedir.
Cam elyaf hazır makine dairesi montajlarında, tam gömulu veya yarı gömulu, havalandırma kabin içerisindeki
sıcaklığın en fazla 40 C olacak şekilde sağlanmalıdır.
Boru bağlantısı
Pompanın emiş ve basma hatlarına vana takılması, pompayı daha sonra sistemden devredeki tum suyu boşaltmadan
alabilmek için, önerilir.
Pompa emiş bağlantı borusunun giriş bağlantı çapı ile en azından aynı olmalıdır ve basma hattının en az
aynı basma çapı ile aynı olması önerilir.
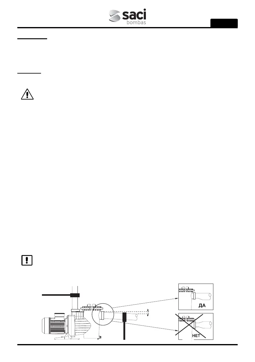
Emiş hattı pompanın hava yapmasını önlemek için pompaya doğru hafif bir eğim ile bağlanmalıdır.
OK
NO

Table of Contents

Related product manuals