EasyManua.ls Logo

Salter 9147 - Spørgsmål Og Svar

Salter 9147
56 pages
Print Icon
To Next Page IconTo Next Page
To Next Page IconTo Next Page
To Previous Page IconTo Previous Page
To Previous Page IconTo Previous Page
Loading...
34
DK
HVORFOR BØR JEG KENDE MIN MUSKELMASSE?
Ifølge American College of Sports Medicine (ASCM) kan den rene muskelmasse falde
med næsten 50 % fra 20-års- til 90-års-alderen. Hvis du intet gør for at erstatte dette
tab, vil du miste muskelmasse og få mere fedtvæv. Det er også vigtigt at kende din
muskelmasse, når du taber dig. I hvile forbrænder kroppen ca. 110 ekstra kalorier for
hverkilomuskelmasse,dutagerpå.Derererefordelevedatøgesinmuskelmasse,fx:
• Vendedetfaldistyrke,knogletæthedogmuskelmasse,derfølgermedalderen
• Opretholdesmidigeled
• Styrevægttabet,nårdetkombineresmedensunddiæt.
SPØRGSMÅL OG SVAR
Præcis hvordan bliver mit kropsfedt og –vand målt?
Denne Salter personvægt anvender en målemetode, der kaldes bioimpedansanalyse
(BIA).En ganske lille strøm sendes gennem kroppen via fødderne og benene. Strømmen
løber let gennem det magre muskelvæv, som har et højt væskeindhold, men ikke let
gennem fedt. Derfor kan muskelmængden bestemmes ved at måle kroppens impedans
(dvs. dens modstand mod strømmen). På baggrund heraf kan man så anslå mængden
af fedt og vand.
Hvad er værdien af den strøm, som passerer gennem mig, når målingen
foretages? Er det sikkert?
Strømmen er mindre end 1 mA, hvilket er meget lidt og helt sikkert. Du vil ikke
kunne føle det. Bemærk dog, at denne anordning ikke bør bruges af nogen med en
intern elektronisk medicinsk anordning, f.eks. en pacemaker, som forholdsregel mod
afbrydelse af den pågældende anordning.
Hvis jeg måler mit kropsfedt og -vand på forskellige tidspunkter på dagen,
kan det svinge ganske betragteligt. Hvilken visning er den rigtige?
Målingen af din kropsfedtprocent svinger i takt med indholdet af vand i din krop, og
vandindholdet ændrer sig i løbet af dagen.
Derndesintetrigtigtellerforkerttidspunktpådagenatforetageaæsningen,mendet
er bedst at foretage målingerne regelmæssigt på et tidspunkt, hvor du mener, kroppen
ernormalthydreret.Undgåataæseefterathaveværetibadellersauna,efterintensiv
motion eller inden for 1-2 timer efter, at du har drukket meget eller indtaget et måltid.
NORMALT SUNDT OMRÅDE FOR KROPSVANDPROCENT
Vandprocentoversigt***
Fedtprocentområde Optimal total
vandprocentområde
Mænd
4 til 14% 70 til 63%
15 til 21% 63 til 57%
22 til 24% 57 til 55%
25 og derover 55 til 37%
Kvinder
4 til 20% 70 til 58%
21 til 29% 58 til 52%
30 til 32% 52 til 49%
33 og derover 49 til 37%
***Kilde:AedtafWang&Deurenberg:
“Hydration of fat-free body mass”. American Journal Clin Nutr 1999, 69 833-841.
For dem, der bruger atlet indstilling: bemærk at atleter kan have et lavere kropsfedt
område og et højere kropsvand område end vist herover, afhængig af deres type
sport eller aktivitet. Resultaterne af kropsvandsmåling påvirkes af forholdet mellem
kropsfedt- og muskelmasse. Hvis kropsfedtproportionen er stor, og muskelmassepro-
portionen er lille, vil der være en tendens til en lav kropsvandsproportion.
Det er vigtigt at huske, at målinger af f.eks. kropsvægt, kropsfedt og kropsvand
er værktøjer, du kan bruge som et led i din sunde livsstil. Det er helt normalt med
kortvarige udsving, og derfor foreslår vi, at du noterer dine resultater over tid frem for at
fokusere på målingen på en enkelt dag.
Kropsvand %-områderne er kun vejledende.
Der bør altid indhentes professionel lægelig assistance inden starten på diæt og
motionsprogrammer.
Dette produkt er kun beregnet til hjemmebrug. Gravide kvinder bør kun bruge
vægtfunktionen.
ADVARSEL: Du må ikke anvende dette produkt, hvis du har indopereret pacemaker
eller andre lignende apparater. Spørg din læge, hvis du er i tvivl.
Min ven har en kropsfedtanalysator af et andet fabrikat. Da jeg brugte den,
opdagede jeg, at jeg fik en anden fedtprocentmåling. Hvordan kan det være?
De forskellige kropsfedtanalysatorer foretagerlinger på forskellige steder kroppen
og bruger forskellige matematiske algoritmer til at beregne procenten af kropsfedt. Det
bedste råd er ikke at lave sammenligninger mellem det ene apparat og det andet, men at
bruge det samme apparat hver gang til at holde øje med evt. forandringer.
Hvordan fortolker jeg mine målinger af kropsfedt- og –vandprocent?
Der henvises til kropsfedt- og –vandtabellerne, der medfølger med produktet.
De vil vise, om målingen af din kropsfedt- og vandværdi falder indenfor en sund
kategori (i forhold til din alder og dit køn).
Hvad skal jeg gøre, hvis min måling af kropsfedt er meget ’høj’?
En sund kost, et fornuftigt væskeindtag og en motionsplan kan nedsætte din
kropsfedtprocent. Du bør altid få professionel vejledning, f.eks.fra din læge, inden du
begynder at følge en eventuel plan.
Hvorfor er der så stor forskel på krosfedtområderne for mænd og kvinder?
Kvinder har fra naturens side en højere fedtprocent end mænd, eftersom kvindekroppen
er opbygget med henblik på graviditet, amning osv.
Hvad skal jeg gøre, hvis min måling af vandprocent er ’lav’?
Husk at drikke vand med jævne mellemrum og arbejd mod at få fedtprocenten ind i det
sunde område. Hvorfor bør jeg ikke bruge kropsanalysevægten, hvis jeg er gravid?
Under graviditet ændres kvindekroppens opbygning ganske betydeligt,den er i stand
til at støtte barnets udvikling. Under disse omstændigheder kan målinger af kropsfedt
være unøjagtige og vildtledende. Gravide kvinder bør derfor kun bruge vægtfunktionen.
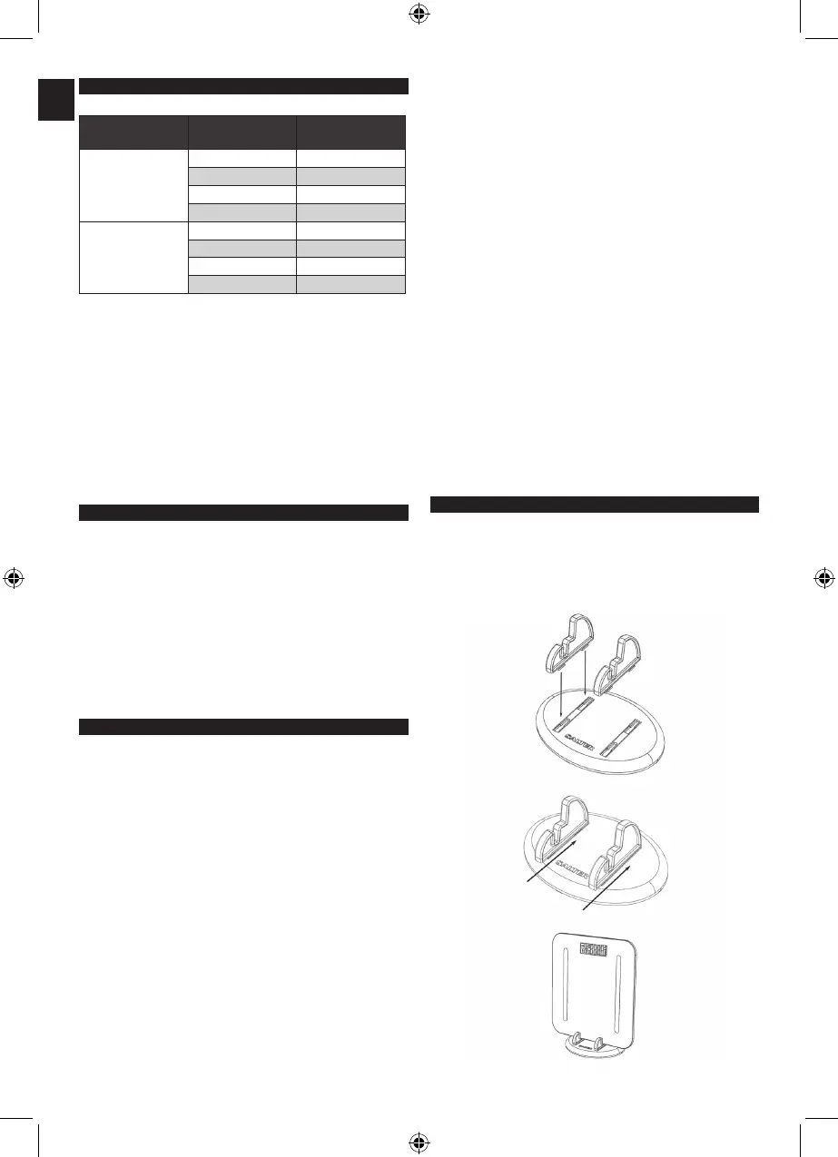
STOWAWEIGH STATIV
Denne Salter vægt er udstyret med en unik opbevaringsløsning. Når den ikke er i brug,
kan den opbevares sikkert og bekvemt i et opbevaringsstativ, der er nemt at samle,
hvormed der frigøres plads i badeværelset.
IB-9147-1009-02.indd 34 09/11/2009 16:40
Downloaded from www.vandenborre.be

Related product manuals