EasyManua.ls Logo

Salto CU4000 - Conexión de las Entradas

Salto CU4000
21 pages
Print Icon
To Next Page IconTo Next Page
To Next Page IconTo Next Page
To Previous Page IconTo Previous Page
To Previous Page IconTo Previous Page
Loading...
All contents current at time of publication.
SALTO Systems S.L. reserves the right to change availability of any
item in this catalog, its design, construction, and/or materials.
©
2022 SALTO Systems S.L.
224901-ED.4- 26/06/2023
Installation guide
CU4000 Door Controller
Factory configuration Configuración de fábrica
IN1
IN2
IN3
IN4
IN5
IN6
RL1
RL2
RL3
RL4
Estado de puerta PUERTA 1
Input PULSADOR salida PUERTA 1
Estado de puerta PUERTA 2
Input PULSADOR salida PUERTA 2
Input modo OFFICE PUERTA 1
Input modo OFFICE PUERTA 2
Relé PUERTA 1
Alarmas de Tamper, DLO e intrusión de PUERTA 1
Relé PUERTA 2
Alarmas de Tamper, DLO e intrusión de PUERTA 2
unsupervised NC
unsupervised NO
unsupervised NC
unsupervised NO
unsupervised NO
unsupervised NO
IN1
IN2
IN3
IN4
IN5
IN6
RL1
RL2
RL3
RL4
État de porte pour la PORTE 1
Bouton poussoir pour la PORTE 1
État de porte pour la PORTE 2
Bouton poussoir pour la PORTE 2
Fonction office pour la PORTE 1
Fonction office pour la PORTE 2
Relais de commande pour la PORTE 1
Alarme sabotage, intruision ou porte ouverte PORTE 1
Relais de commande pour la PORTE 2
Alarme sabotage, intruision ou porte ouverte PORTE 2
non supervisé NC
non supervisé NO
non supervisé NC
non supervisé NO
non supervisé NO
non supervisé NO
IN1
IN2
IN3
IN4
IN5
IN6
RL1
RL2
RL3
RL4
DOOR state for DOOR1
RTE input for DOOR1
DOOR state for DOOR2
RTE input for DOOR2
Office input for DOOR1
Office input for DOOR2
Lock Relay for DOOR1
Tamper Alarm, DLO and intrusion DOOR 1
Lock Relay for DOOR2
Tamper Alarm, DLO and intrusion DOOR 2
unsupervised NC
unsupervised NO
unsupervised NC
unsupervised NO
unsupervised NO
unsupervised NO
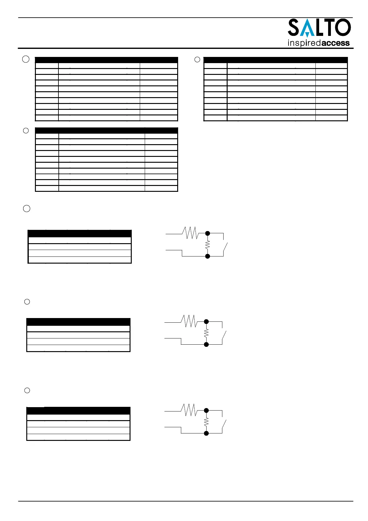
Input connections
Supervised input connections
CUADAP or third partie readers
IN3
IN4
IN5
IN6
D0 output
D1 output
D0 output
D1 output
Clock output
Data output
Clock output
Data output
TX output
TX output
Configuration d’usine
Wiegand Omron RS232
The resistance value R1 and R2 are defined in
the software: 1k (recommended), 1k5, 2k2,
3k3, 4k7 6k8, 10k
Conexión de las entradas
Conexión de las entradas supervisadas
CUADAP o lectores de terceros
IN3
IN4
IN5
IN6
Salida D0
Salida D1
Salida D0
Salida D1
Salida reloj
Salida Datos
Salida reloj
Salida Datos
Salida TX
Salida TX
Wiegand Omron RS232
El valor de resistencia R1 y R2 se define en el
Software: 1k (recomendado) ,1k5 ,2k2 ,3k3,
4k7, 6k8, 10k
Connexion d’entrée
Connexion d'entrée supervie.
CUADAPT ou lecteur tiers.
IN3
IN4
IN5
IN6
Sortie D0
Sortie D1
Sortie D0
Sortie D1
Sortie Clock
Sortie Data
Sortie Clock
Sortie Data
Sortie TX
Sortie TX
Wiegand Omron RS232
La valeur des résistances R1 et R2 sont définies
dans le logiciel : 1k (recommandé), 1k5, 2k2,
3k3, 4k7, 6k8, 10k.
R2
R1
R1=R2
R2
R1
R1=R2
R2
R1
R1=R2
E
Eng
F
Eng
E
F
(Input supervision has not been evaluated by UL)
3/20

Related product manuals