EasyManua.ls Logo

Samoa PUMPMASTER 2 - Repair and Cleaning Procedures; Air Motor Repair and Cleaning; Inverter Set Repair and Cleaning; Impulsion Valve Repair and Cleaning

Samoa PUMPMASTER 2
32 pages
Print Icon
To Next Page IconTo Next Page
To Next Page IconTo Next Page
To Previous Page IconTo Previous Page
To Previous Page IconTo Previous Page
Loading...
4
835 807 R. 03/18
SAMOA Industrial, S.A. · Pol. Ind. Porceyo, I-14 · Camino del Fontán, 831 · 33392 - Gijón - Spain · Tel.: +34 985 381 488 · www.samoaindustrial.com
2018_03_15-11:00
EN
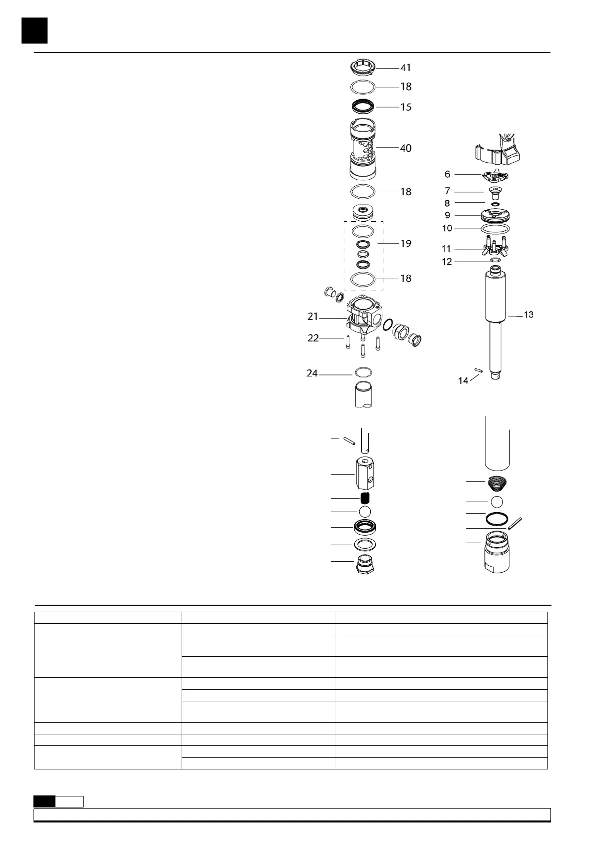
Fig. 5
INVERTER SET (Fig. 6)
Follow the procedures described in the “Air motor" procedure.
Pull the air valve assembly (6).
CAUTION: The air valve can only be assembled in a one position.
Do not force the parts together, they snap neatly into place when
correctly oriented.
Attach the shaft (13) to a rubber-covered-clamp vice.
Take out the stem bolt.
CAUTION: The threads have a non-permanent sealant that has to
be applied again when re-assembling the pump. Use Loctite #242
or equivalent.
Be careful not to damage the O-ring (8) in the air pass cap (7).
Parts (9, 10, 11 and 12) are freed and ready to be replaced and/or
cleaned.
Fig. 6
27
31
26
28
29
30
32
IMPULSION VALVE (Fig. 7)
Unscrew the valve seat (32) from the valve body (27) and remove
the washer (31), the oil plunger (30), the ball (29) and the spring
(28).
Clean these parts carefully. Replace any damaged parts.
Assemble the pump following the previous instructions, reversing each
step. Use sealer on the valve seat (32) threads.
FOOT VALVE (Fig. 8)
Attach the suction tube assembly to a vice and unscrew the foot
valve body (37/39) from the suction tube.
Remove the pin (36) and clean the ball (34), the spring (33) and
the ball seat, replace if damaged. Assemble the pump following the
previous instructions, reversing each step.
34
33
35
36
37/39
Symptom Possible cause Solution
Pump does not start.
No or low air pressure. Check the air line valve, regulator and quick coupler.
Motor damaged. Check air motor mechanism. Check seals as
required and replace any faulty parts.
Air motor blocked by dirt. As above. Check for free movement and for foreign ob-
jects in piston valve etc.
Pump reciprocating but not delivering.
No oil. Check oil level in drum/tank.
Pressure valve damaged. Make sure that pressure valve is free to move as required.
Foot valve damaged.
Check spring and valve part for correct operation and
seating. Check for foreign objects jammed in foot valve.
Pump runs irregularly. Pump cavitation. Decrease the air pressure in order to reduce the speed.
Oil leak through air muffler. Fluid packing damaged. Change the damaged packing.
Pump is running despite the outlet
being closed.
Pressure valve is damaged. Change the damaged packing.
Dirt in foot valve. Clean/ check the damaged parts.
REPAIR AND CLEANING PROCEDURE
AIR MOTOR (Fig. 5)
Unscrew the suction tube. Be careful not to damage O-ring (24).
Remove pin (14) to separate the lower part of the pump (fig. 6).
Remove screws (22) and pull the air motor dolly to remove it. The
air motor parts will be accessible.
Replace parts (18) and (15) if required.
Clean of replace any damaged part.
Fig. 7
Fig. 8
TROUBLESHOOTING

Related product manuals