EasyManua.ls Logo

Samsung AM MXVAFC Series - Page 32

Samsung AM MXVAFC Series
98 pages
Print Icon
To Next Page IconTo Next Page
To Next Page IconTo Next Page
To Previous Page IconTo Previous Page
To Previous Page IconTo Previous Page
Loading...
32
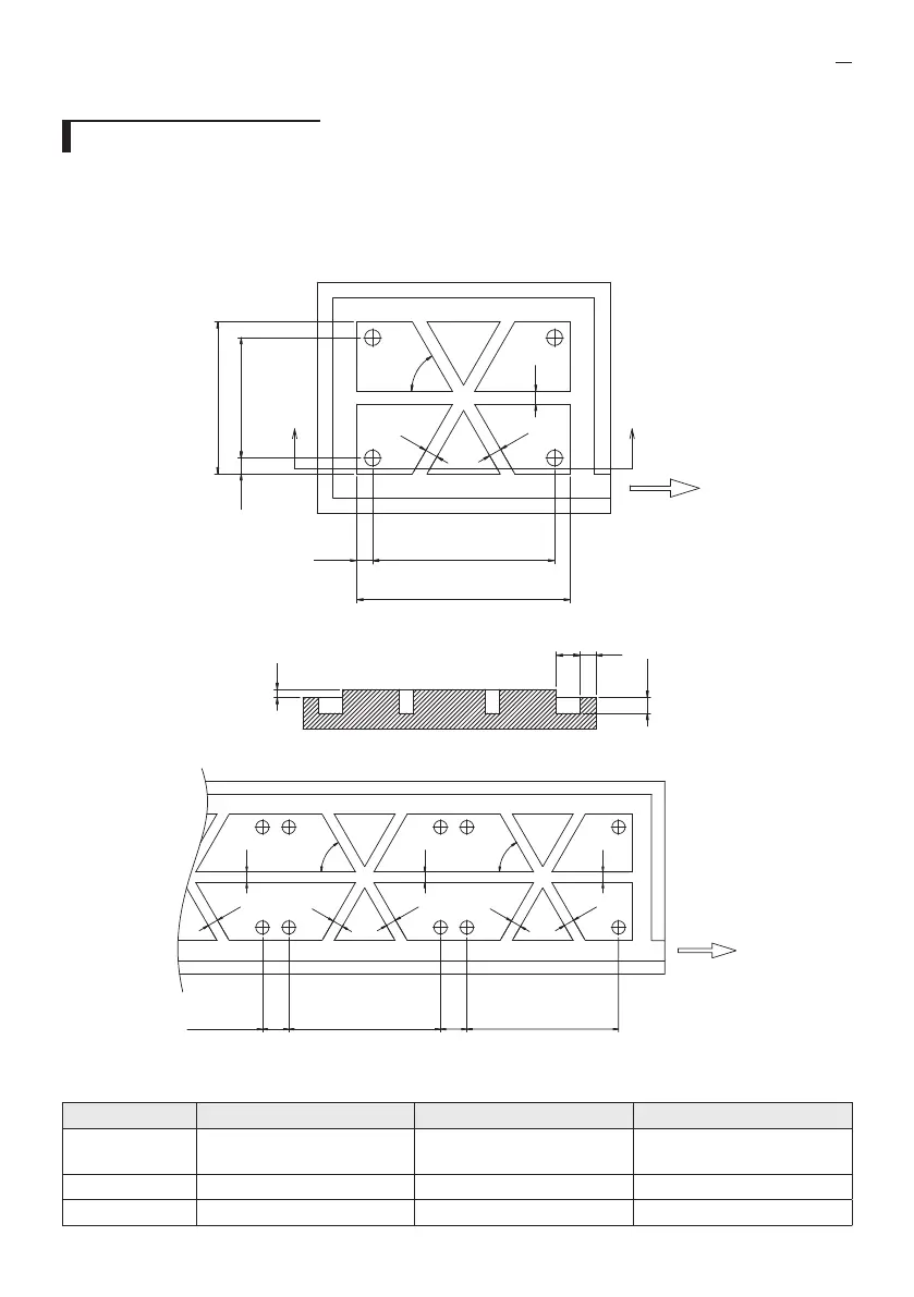
Base construction and installation of the outdoor unit
Examples of draining work
Construct the drainage ditch with reinforced concretes and make sure that water-proong work is done.
For smooth draining of water, make sure to apply 1/50 slope.
Construct a drainage around the outdoor unit to prevent the water (from the outdoor unit) from stagnating, overowing
or freezing near the installation space.
When the outdoor unit is installed on the roof, check the strength and waterproof status of the roof.
Unit: mm (inch)
960 (37.80)
760 (29.92)
100 (3.94)
80 (3.15)
80 (3.15)
80 (3.15)
60°
100 (3.94)
X
X’
Direction of the drainage
(Slope 1/50)
<Drainage work for single installation>
B
A
50 (1.97)
100
(3.94)
150 (5.91) 100 (3.94)
<X-X’ SECTION>
80 (3.15)
80 (3.15)
80 (3.15)
80 (3.15)
80 (3.15)
80 (3.15)
80 (3.15)
80 (3.15)
60°
60°
200
(7.87)
B B
200
(7.87)
Direction of the drainage
(Slope 1/50)
<Drainage work for module installation>
Unit: mm (inch)
Classication Small type Large A type Large B type
Models AM080/100/120
AM140/160/180/200,
AM220MXVAJC
AM220MXVAFC,
AM240/260/280/300
A 940 (37.01) 1,350 (53.15) 1,350 (53.15)
B 740 (29.13) 1,150 (45.28) 1,150 (45.28)