EasyManua.ls Logo

Samsung P1401 - Washing Machine Overview; Component Identification

Samsung P1401
35 pages
Print Icon
To Next Page IconTo Next Page
To Next Page IconTo Next Page
To Previous Page IconTo Previous Page
To Previous Page IconTo Previous Page
Loading...
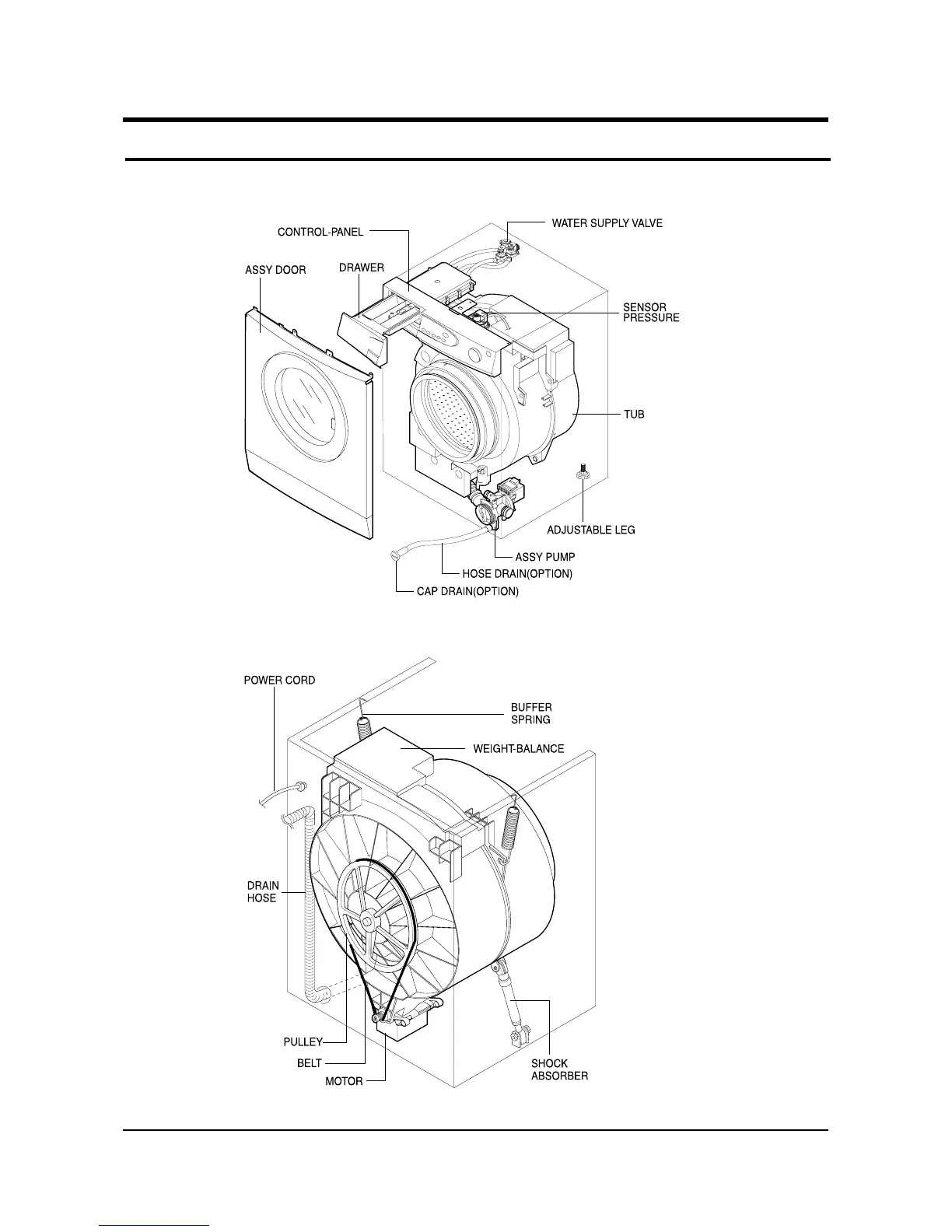
2. Overview of the Washing Machine
4 SAMSUNG ELECTRONICS CO., LTD

Related product manuals