EasyManua.ls Logo

Samwha DSP DSP-VIP-PL - Center;PLC Communication via RS-485;422

Samwha DSP DSP-VIP-PL
60 pages
Print Icon
To Next Page IconTo Next Page
To Next Page IconTo Next Page
To Previous Page IconTo Previous Page
To Previous Page IconTo Previous Page
Loading...
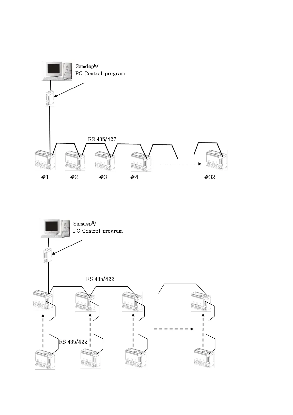
21-2.Center(PC),PLC < > DSP by RS-485/422
a.Serial Line Connection
b.Serial Line-Parallel Connection
DSP-CMB/protocol converter
485/422< > 232,USB or 9 pin D-
sub
T R TR
TR : termination resistance
DSP-CMB/protocol converter
485/422< > 232,USB or 9pin D-sub
#1/TR
#6/TR
#7/TR
#12/TR
#32/TR
#13/TR
#18/TR
#26/TR