EasyManua.ls Logo

Sansui B-1000 - Page 3

Sansui B-1000
14 pages
Print Icon
To Next Page IconTo Next Page
To Next Page IconTo Next Page
To Previous Page IconTo Previous Page
To Previous Page IconTo Previous Page
Loading...
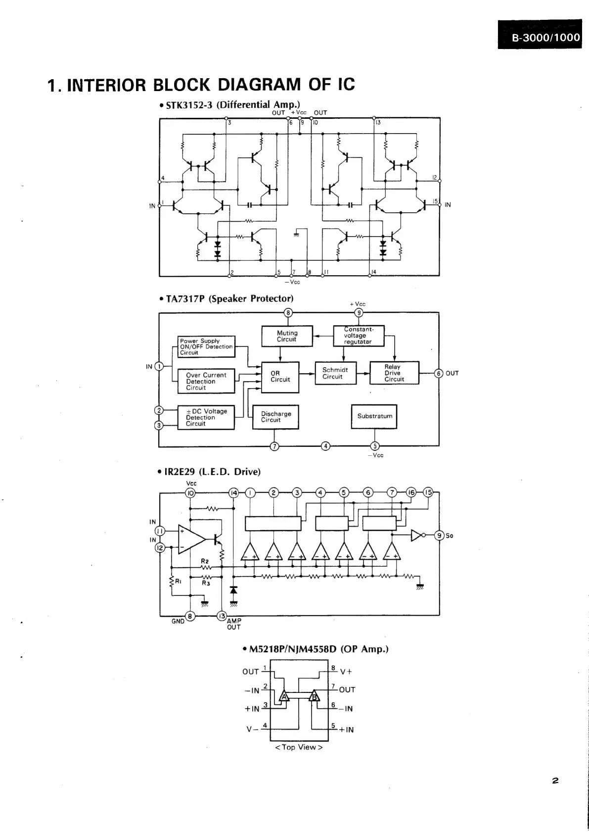
1.
INTERIOR
BLOCK
DIAGRAM
OF
IC
¢
STK3152-3
(Differential
Amp.)
+Vec
OUT
O
b
jb
bi
|
—Vec
¢
TA7317P
(Speaker
Protector)
ae
oe
+
Oy
Power
Fonets
Cotton
Circuit
Over
Current
ro
Detection
Circuit
+DC
Voltage
Detection
Circuit
<Top
View
>
B-3000/1000

Related product manuals