EasyManua.ls Logo

Sansui MC-X7 - System Control Socket Pinouts; 15-Pin System Control Socket Pinout; 17-Pin System Control Socket Pinout; Mechanism Assembly Part Numbers

Sansui MC-X7
12 pages
Print Icon
To Next Page IconTo Next Page
To Next Page IconTo Next Page
To Previous Page IconTo Previous Page
To Previous Page IconTo Previous Page
Loading...
mB
=
MC-X7/X7L
<Compact
Disc
Player
Section>
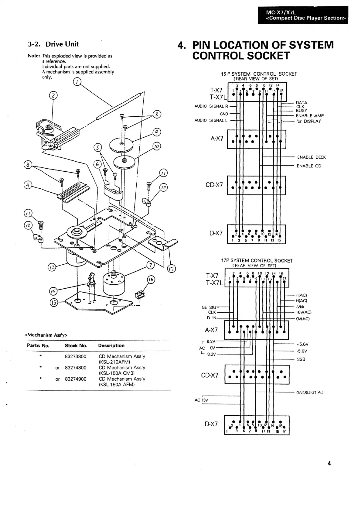
3-2.
Drive
Unit
|
4.
PINLOCATION
OF
SYSTEM
CONTROL
SOCKET
Note:
This
exploded
view
is
provided
as
a
reference.
Individual
parts
are
not
supplied.
A
mechanism
is
supplied
assembly
only.
<Mechanism
Ass'y>
Parts
No.
Stock
No.
i
83273800
i
or
83274800
*
or
83274900
Description
CD
Mechanism
Ass'y
(KSL-210AFM)
CD
Mechanism
Ass'y
(KSL-150A
CM3)
CD
Mechanism
Ass'y
(KSL-150A
AFM)
15P
SYSTEM
CONTROL
SOCKET
(REAR
VIEW
OF
SET)
6 8
10
12
14
T-X7
13Pis
e
DATA
CLK
BUSY
ENABLE
AMP
»———
for
DISPLAY
ENABLE
DECK
ENABLE
CD
_
|
|
|
sett
ee
D-X7
024°
B
logit
14
8
1
13
16
17P
SYSTEM
CONTROL
SOCKET
(REAR
VIEW
OF
SET)
4
6
8
10
me
|
htttttt
te
CLK
D
IN
|
|
|
vor
|
tt
p
8.2V
t
+5.6V
La
H(AC)
H(AC)
-Vkk
L
16V(AC)
aaa
an
eB
a
GE
SIG
OV(AC)
AC
OV
5.6V
L
gov
z
:
fl
CD-X7
a
SSB
AC
13V
|
GND(DICT
AL)
e
D-X7

Related product manuals