EasyManua.ls Logo

Sansui MC-X7L - Drive Unit Exploded View; Pin Location of System Control Sockets

Sansui MC-X7L
12 pages
Print Icon
To Next Page IconTo Next Page
To Next Page IconTo Next Page
To Previous Page IconTo Previous Page
To Previous Page IconTo Previous Page
Loading...
mB
=
MC-X7/X7L
<Compact
Disc
Player
Section>
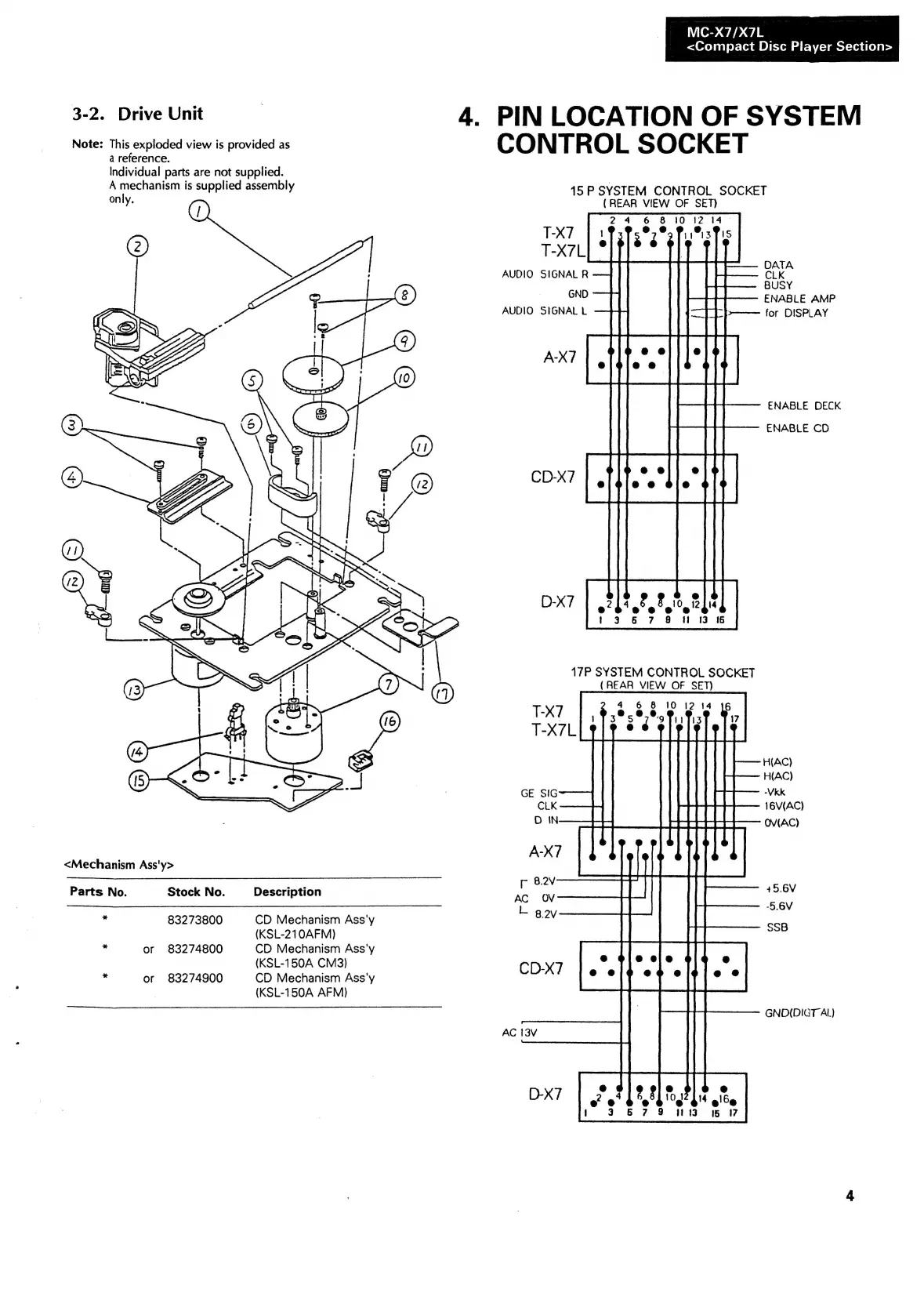
3-2.
Drive
Unit
|
4.
PINLOCATION
OF
SYSTEM
CONTROL
SOCKET
Note:
This
exploded
view
is
provided
as
a
reference.
Individual
parts
are
not
supplied.
A
mechanism
is
supplied
assembly
only.
<Mechanism
Ass'y>
Parts
No.
Stock
No.
i
83273800
i
or
83274800
*
or
83274900
Description
CD
Mechanism
Ass'y
(KSL-210AFM)
CD
Mechanism
Ass'y
(KSL-150A
CM3)
CD
Mechanism
Ass'y
(KSL-150A
AFM)
15P
SYSTEM
CONTROL
SOCKET
(REAR
VIEW
OF
SET)
6 8
10
12
14
T-X7
13Pis
e
DATA
CLK
BUSY
ENABLE
AMP
»———
for
DISPLAY
ENABLE
DECK
ENABLE
CD
_
|
|
|
sett
ee
D-X7
024°
B
logit
14
8
1
13
16
17P
SYSTEM
CONTROL
SOCKET
(REAR
VIEW
OF
SET)
4
6
8
10
me
|
htttttt
te
CLK
D
IN
|
|
|
vor
|
tt
p
8.2V
t
+5.6V
La
H(AC)
H(AC)
-Vkk
L
16V(AC)
aaa
an
eB
a
GE
SIG
OV(AC)
AC
OV
5.6V
L
gov
z
:
fl
CD-X7
a
SSB
AC
13V
|
GND(DICT
AL)
e
D-X7

Related product manuals