EasyManua.ls Logo

Sanus Systems VMCC1 - Page 50

Sanus Systems VMCC1
66 pages
Print Icon
To Next Page IconTo Next Page
To Next Page IconTo Next Page
To Previous Page IconTo Previous Page
To Previous Page IconTo Previous Page
Loading...
PYCCKO
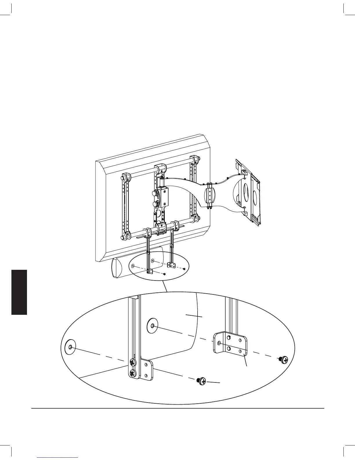
Шаг 13. Установка колонки центрального канала на VMCC1
Передвигайте крепежные скобы (e) пока крепежные скобы колонки (f) не будут выровнены с резьбовыми вставками
в задней части колонки. Выберите подходящие для колонки центрального канала винты, ввинчивая вручную винты
M4 x 10 (h), M5 x 10 (i) или 1/4 - 20 x 3/8 (j) в резьбовые вставки в задней части колонки. Выбрав подходящий винт,
вставьте его через каждую крепежную скобу колонки и ввинтите его в колонку центрального канала. Затяните все
винты с помощью крестообразной отвертки. См. рисунок 13 ниже.
Теперь можно отрегулировать положение колонки относительно телевизора, перемещая ее влево или вправо. Определив
положение, затяните установленные на шаге 6 винты 1/4 - 20 x 5/8 (k) до упора в нижнюю часть опорной планки.
Для регулировки вертикального положения колонки, ослабьте винты 1/4 - 20 x 3/8 в верхних и нижних удлинителях и
установите колонку центрального канала в нужное положение.
См. шаг 5 для регулировки глубины колонки.
Рисунок 13
колонка
f
j
Sanus Systems 2221 Hwy 36 West, Saint Paul, MN 55113 USA 16.11.05
Служба работы с покупателями: 800.359.5520. См. дополнительные изделия производства Sanus на веб-сайте www.sanus.com
VMCC1ins_010606_ML.indd 50 1/16/06 10:32:36 AM

Related product manuals