EasyManua.ls Logo

Sanus MF215 - Page 7

Sanus MF215
52 pages
Print Icon
To Next Page IconTo Next Page
To Next Page IconTo Next Page
To Previous Page IconTo Previous Page
To Previous Page IconTo Previous Page
Loading...
6901-002090 <00>
7
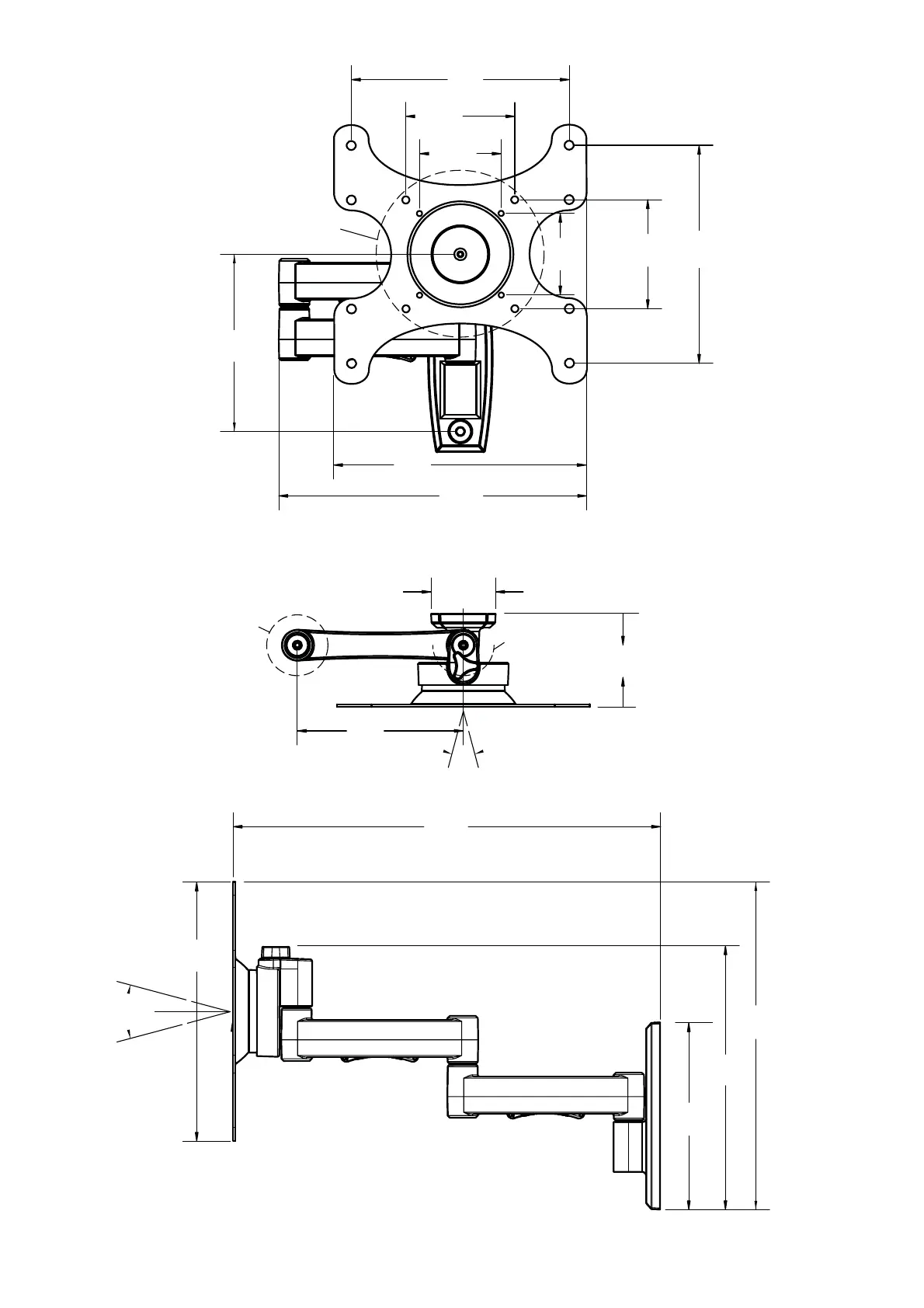
384.3 mm
(15.13 in.)
300.5 mm
(11.83 in.)
249.2 mm
(9.81 in.)
171.5 mm
(6.75 in.)
±15°
237.7 mm
(9.36 in.)
59.18 mm
(2.33 in.)
152.4 mm
(6.0 in.)
78.7 mm
(3.1 in.)
180°
360°
±15°
200 mm
(7.87 in.)
200 mm
(7.87 in.)
231.65 mm
(9.12 in.)
100 mm
(3.94 in.)
162.6 mm
(6.40 in.)
282.45 mm
(11.12 in.)
100 mm
(3.94 in.)
360°
75 mm
(2.95 in.)
75 mm
(2.95 in.)

Other manuals for Sanus MF215

Related product manuals