EasyManua.ls Logo

Sanus WMS3 - Step 1.1: Mounting to Speaker Adapter

Sanus WMS3
12 pages
Print Icon
To Next Page IconTo Next Page
To Next Page IconTo Next Page
To Previous Page IconTo Previous Page
To Previous Page IconTo Previous Page
Loading...
6901-300150 <06>
6
Les haut-parleurs Bose peuvent exiger
une vis [10].
NOTE
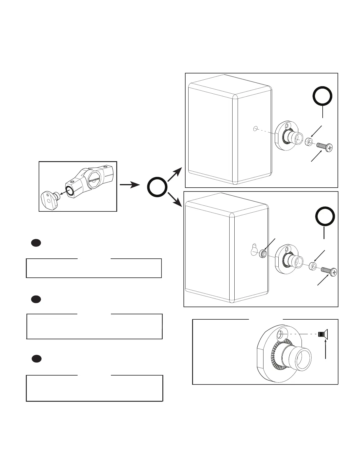
1.1
FR
1.1 Montage à l’adaptateur du haut-
parleur satellite
ES
1.1 Montaje en adaptador de parlante
satélite
EN
1.1: Mounting to the Satellite Speaker
Adapter
Los parlantes Bose podrían requerir
un tornillo [10].
NOTE
Bose speakers may require screw [10].
NOTE
[05, 06, 07, 08]
[12]
[11]
[08]
OPT
[11]
OPT
[10]
NOTE
Bose
speakers
may require
screw [10].
OPT

Related product manuals